样品
成果详情
| 项目简介 | |||||
|---|---|---|---|---|---|
| 技术简介: | |||||
| 专利类型: | 实用新型 | 专利申请号: | CN202223265385.3 | 公开号: | CN219557718U |
| 专利权人: | 南方医科大学珠江医院 | 发明设计人: | 李庆;凌玲;朱胜权;刘素林 | ||
| 所属领域: | |||||
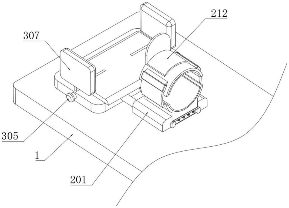
| 摘要: | 本实用新型公开了一种调节式的颈部保护装置,休息床顶端安装有连接座,连接座内部开设有安装槽,安装槽内底端铺设有阻尼板,阻尼板顶端均匀连接有缓冲弹簧,放置板顶端粘接有橡胶防护板,橡胶防护板顶端放置有后保护弧板,后保护弧板两侧连接有固定带,固定带一端嵌入连接于卡扣内,后保护弧板和前保护弧板内部均粘接有柔性缓冲垫,通过后保护弧板和前保护弧板之间的固定带能够实现对不同粗细的脖颈固定,再通过后保护弧板的放置块与安装槽的嵌入安装,能够直接将后保护弧板卡接限位在休息床上,无需固定操作,便于对颈部保护结构进行安装和拆卸,使其在休息和走动的过程中切换便捷,方便日常使用。 | ||||
| 补充信息 | |||||
| 转让方式: | 成熟度: | 预估价值: | |||
| 市场前景: | |||||