样品
成果详情
| 项目简介 | |||||
|---|---|---|---|---|---|
| 技术简介: | |||||
| 专利类型: | 实用新型 | 专利申请号: | CN202020619390.1 | 公开号: | CN212817555U |
| 专利权人: | 南方医科大学南方医院 | 发明设计人: | 夏幼娟;廖卫华;徐慧颖;方晓英;冯苏敏;吴迪;任纳;容观芬 | ||
| 所属领域: | |||||
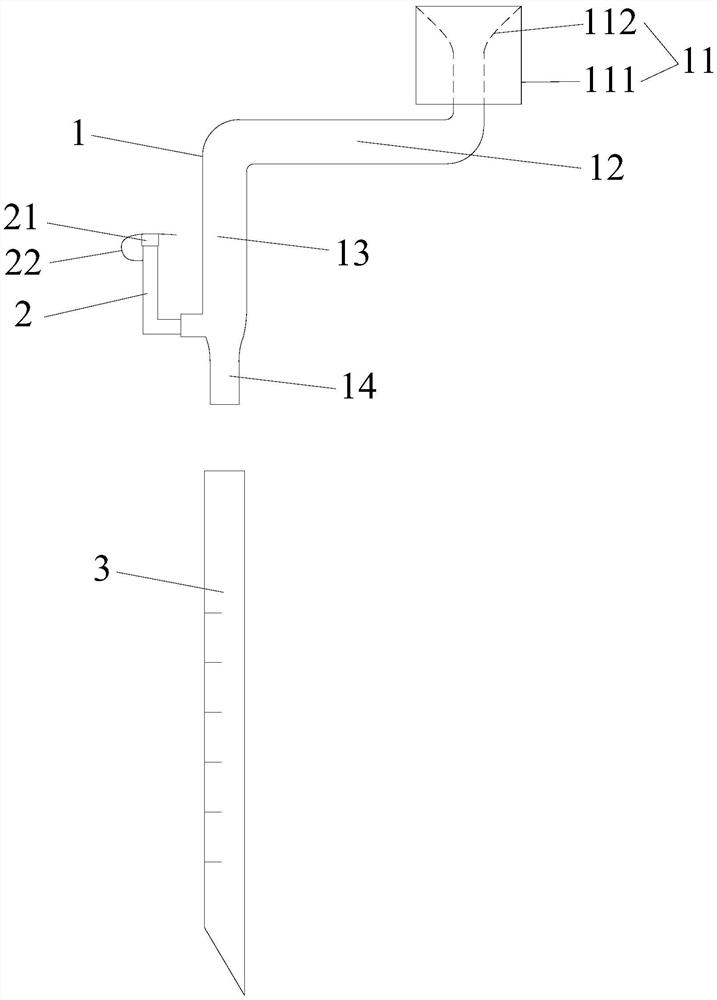
| 摘要: | 本实用新型公开了弯形反冲一体化气管内给药装置,包括连接管,所述连接管包括复苏气囊连接端,复苏气囊连接端垂直弯折延伸形成返冲段一,返冲段一的末端垂直弯折延伸形成返冲段二,返冲段二的末端为气管导管连接端,气管导管连接端和复苏气囊连接端的朝向相反,返冲段二上接近气管导管连接端的位置连接有注药管。本实用新型的弯形反冲一体化气管内给药装置能建立密闭式的气管内给药方式实现持续压力供氧,避免肺泡塌陷,提高肺的顺应性和避免肺病理变化,也能避免药物的浪费,达到足量给药,提高药物治疗效果。 | ||||
| 补充信息 | |||||
| 转让方式: | 成熟度: | 预估价值: | |||
| 市场前景: | |||||