样品
成果详情
| 项目简介 | |||||
|---|---|---|---|---|---|
| 技术简介: | |||||
| 专利类型: | 实用新型 | 专利申请号: | CN202323035693.1 | 公开号: | CN222032373U |
| 专利权人: | 南方医科大学南方医院 | 发明设计人: | 罗甜 | ||
| 所属领域: | |||||
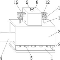
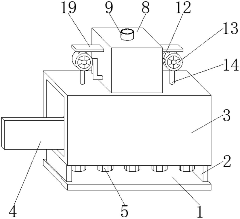
| 摘要: | 本实用新型公开了一种可视化痛风石伤口测量尺,包括底板,所述底板顶部的两侧均固定连接有支撑板。本实用新型通过电机启动带动旋转轴和输送辊转动,使前侧输送辊顺时针转动,后侧输送辊逆时针转动,然后将消毒液通过加液管加入消毒液箱的内腔,通过过滤网对消毒液进行过滤,抽液泵启动通过抽液管抽动消毒液箱内腔的消毒液,消毒液通过抽液管、抽液泵和出液管抽动进入横向管的内腔,然后再通过消毒喷淋头喷出,将测量尺本体放入清洗消毒壳的内腔,并且使测量尺本体处在两个输送辊的内侧,输送辊转动对测量尺本体进行输送,使测量尺本体能够缓慢的向右侧移动,消毒喷淋头对测量尺本体进行喷洒消毒液。 | ||||
| 补充信息 | |||||
| 转让方式: | 成熟度: | 预估价值: | |||
| 市场前景: | |||||