样品
成果详情
| 项目简介 | |||||
|---|---|---|---|---|---|
| 技术简介: | |||||
| 专利类型: | 实用新型 | 专利申请号: | CN201920822233.8 | 公开号: | CN210656876U |
| 专利权人: | 南方医科大学珠江医院 | 发明设计人: | 秦佳升;高毅;麦燕兴;蒋泽生;杨斌;李阳 | ||
| 所属领域: | |||||
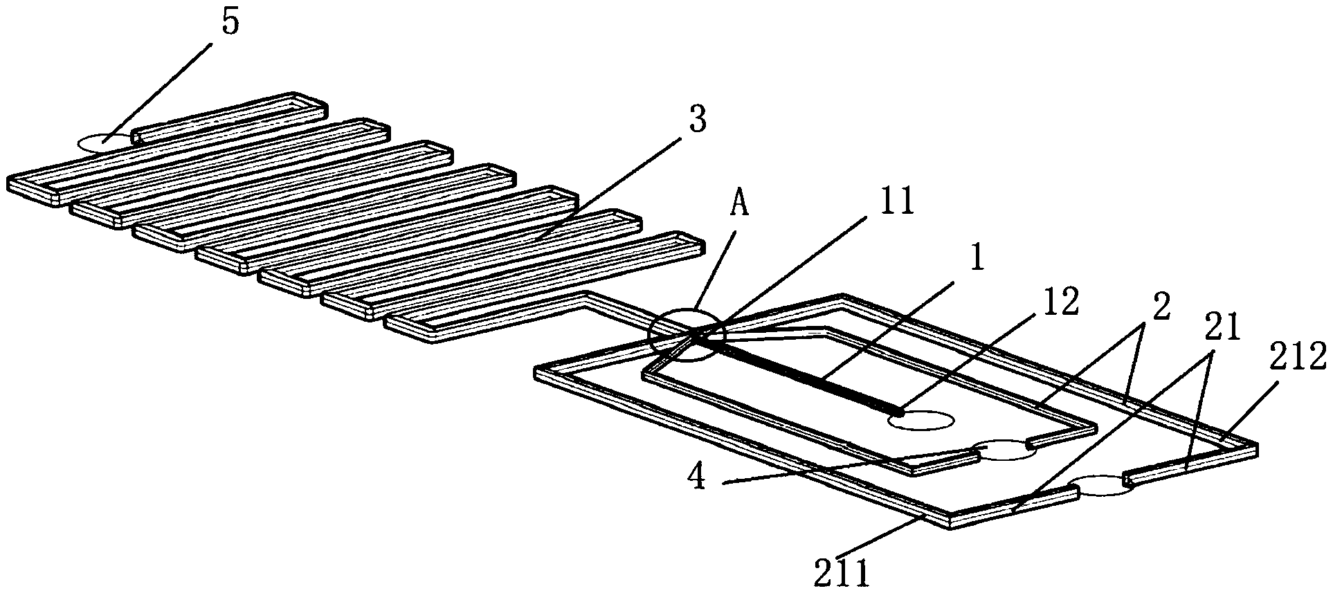
| 摘要: | 本实用新型提供了一种微流控装置,包括设有出口端和入口端的第一管道、若干组从所述第一管道的出口端汇入的第二管道,以及连通所述出口端的反应管道,所述第一管道的高度低于所述第二管道的高度,所述第二管道的高度低于或等于所述反应管道的高度。本实用新型微流控装置能够提高包埋率且能够避免核心层微生物及组织细胞损伤。 | ||||
| 补充信息 | |||||
| 转让方式: | 成熟度: | 预估价值: | |||
| 市场前景: | |||||