样品
成果详情
| 项目简介 | |||||
|---|---|---|---|---|---|
| 技术简介: | |||||
| 专利类型: | 实用新型 | 专利申请号: | CN201920654130.5 | 公开号: | CN210056838U |
| 专利权人: | 南方医科大学珠江医院 | 发明设计人: | 詹也男;潘意婷;彭文丽 | ||
| 所属领域: | |||||
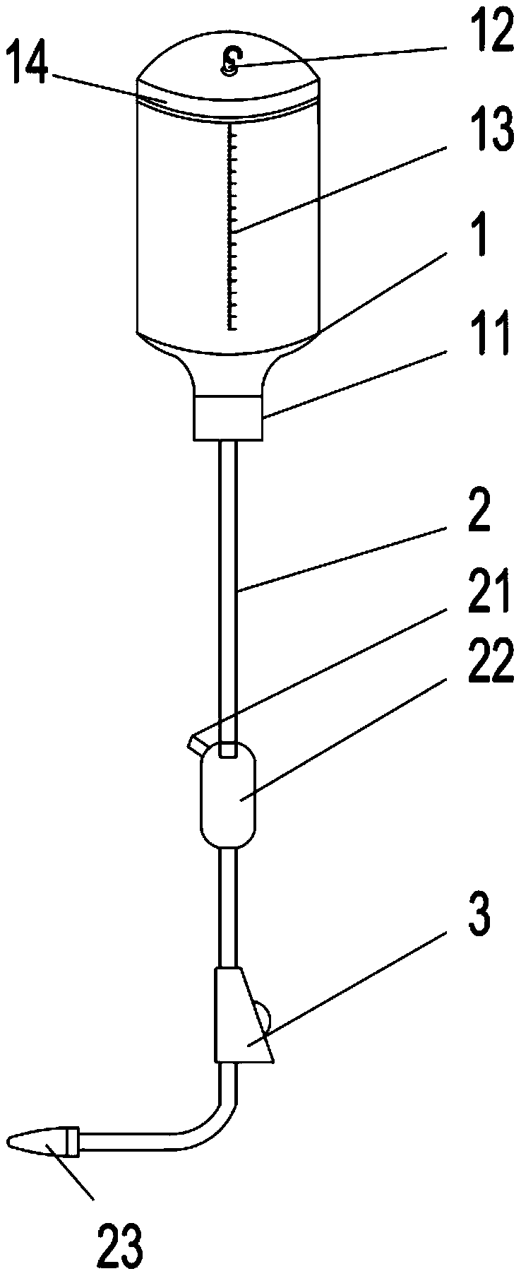
| 摘要: | 本实用新型属于医疗用品领域,提供了一种重力滴注鼻饲装置,包括用于装置食物的鼻饲桶和与鼻饲桶连接的连接管,所述连接管的一端设置有用于插入临床上现有的鼻饲液进行可拆卸连接或插入鼻饲桶与鼻饲桶可拆卸连接的第一连接头并且连接管另一端设置有用于与患者处固定的胃管可拆卸连接的第二连接头,所述连接管上还设置有用于对滴注速度进行观察的滴壶,所述第一连接头和滴壶间的连接管上还设置有排气管,所述连接管上还设置有用于对滴注速度进行控制的调节器,所述连接管管径为0.6‑0.7cm。本实用新型便于清洗且不但营养液输送方便并且病人自制较浓稠的食物也能够输送。 | ||||
| 补充信息 | |||||
| 转让方式: | 成熟度: | 预估价值: | |||
| 市场前景: | |||||