样品
成果详情
| 项目简介 | |||||
|---|---|---|---|---|---|
| 技术简介: | |||||
| 专利类型: | 实用新型 | 专利申请号: | CN202322408778.3 | 公开号: | CN221618143U |
| 专利权人: | 南方医科大学深圳医院 | 发明设计人: | 李敏 | ||
| 所属领域: | |||||
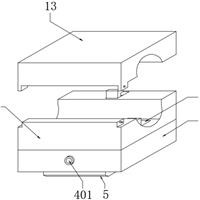
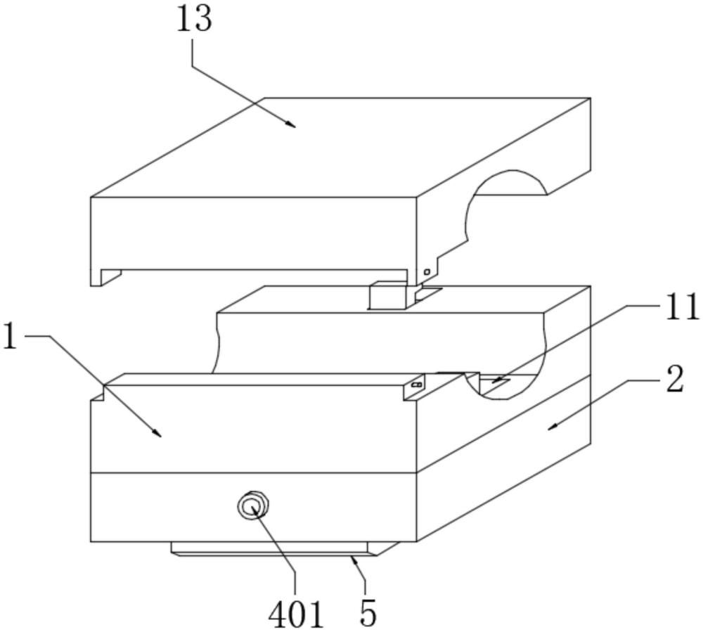
| 摘要: | 本实用新型公开了一种输血监测装置,包括卡座和限位组件,卡座的底部设有安装板,且安装板顶部错位开设有三组滑槽,用于控制安装板是否与卡座分离的限位组件安装于滑槽内部,限位组件包括按钮、推板、第一卡扣和复位弹簧,按钮的后端固定安装有推板,且推板的顶部固定安装有第一卡扣,推板的中部后方固定安装有复位弹簧,且推板通过复位弹簧与滑槽内部弹性连接,安装板的底部固定安装有蜂鸣器,且蜂鸣器的顶部电性连接有处理器。该输血监测装置,不仅可以快速进行拆卸分离,便于后期维护,同时还可以对输液管道内部的流速和气泡进行检测。 | ||||
| 补充信息 | |||||
| 转让方式: | 成熟度: | 预估价值: | |||
| 市场前景: | |||||