样品
成果详情
| 项目简介 | |||||
|---|---|---|---|---|---|
| 技术简介: | |||||
| 专利类型: | 发明 | 专利申请号: | CN202111169971.5 | 公开号: | CN113729457A |
| 专利权人: | 南方医科大学珠江医院 | 发明设计人: | 黄莉;毛惠娜;邹丹凤;吕周 | ||
| 所属领域: | |||||
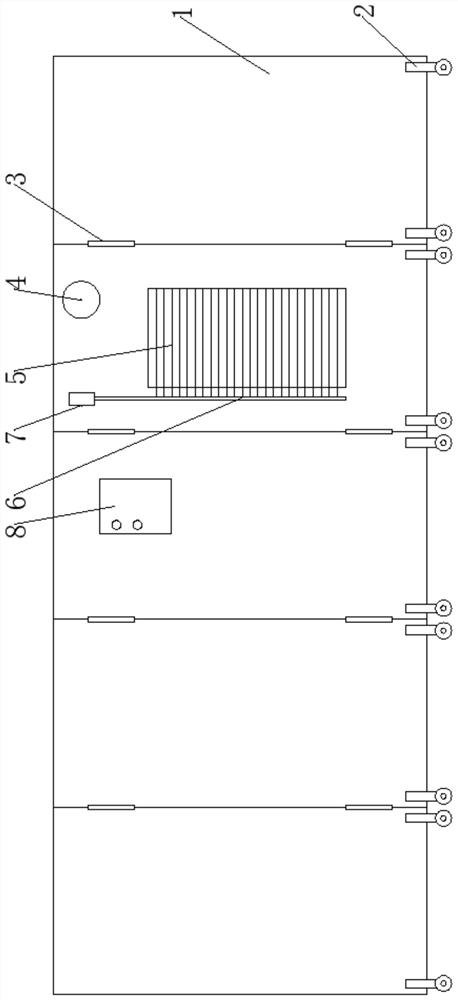
| 摘要: | 本发明公开了一种基于大数据的卧床患者用防异味屏风装置,包括多组防异味屏风单元,每个防异味屏风单元的下端均设有移动轮,一个防异味屏风单元的内侧设有开口和播放模块,开口处安装有百叶窗,百叶窗通过驱动机构连接,该防异味屏风单元的外侧设有于百叶窗对应的排风机,排风机的外侧设有排风管接口,该防异味屏风单元内设有连通百叶窗与排风机的风道;任意防异味屏风单元上还设有控制箱,控制箱内设有控制模块,控制模块用于控制播放模块按照预设的音乐优先权表进行进行顺序播放,及用于控制驱动机构按照预设的气味模型驱动进行动作。本发明本发明既起到了隔音的作用,又能去除异味,通过音乐给患者营造一个舒适的环境,更加能保护患者的隐私。 | ||||
| 补充信息 | |||||
| 转让方式: | 成熟度: | 预估价值: | |||
| 市场前景: | |||||