样品
成果详情
| 项目简介 | |||||
|---|---|---|---|---|---|
| 技术简介: | |||||
| 专利类型: | 实用新型 | 专利申请号: | CN202021395048.4 | 公开号: | CN213169674U |
| 专利权人: | 南方医科大学南方医院 | 发明设计人: | 王梦芸;黄平;袁志云 | ||
| 所属领域: | |||||
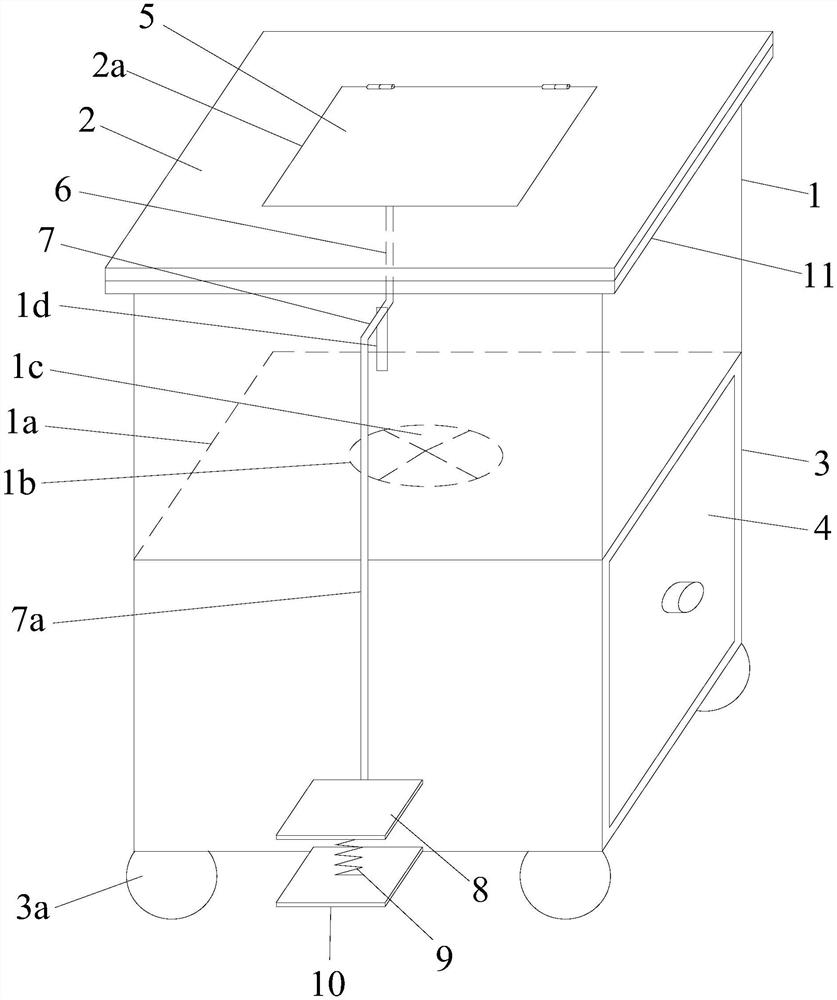
| 摘要: | 本实用新型公开了一种改良式大容积锐器盒,包括盒体和盒盖,所述盒体的底部向下延伸形成扩容盒,盒体和扩容盒均为40cm×40cm×40cm的方形盒体,扩容盒的侧面敞口并且内置有左右抽拉的抽屉,盒体的底板开有与扩容盒内的抽屉连通的开孔,盒盖上开有方形开口,方形开口的后侧铰接连接有活动盖,活动盖的下侧铰接连接有竖向连杆,竖向连杆的下端固定连接有横向连杆,横向连杆贯穿盒体的前侧面并且固定连接有下竖杆,下竖杆的下端固定有脚踏板,脚踏板的下侧固定有弹簧,弹簧的下端固定在一固定板上,固定板固定在扩容盒的前侧底部。本实用新型的改良式大容积锐器盒能储放更多的锐器和输液器,且符合医院感染控制要求。 | ||||
| 补充信息 | |||||
| 转让方式: | 成熟度: | 预估价值: | |||
| 市场前景: | |||||