样品
成果详情
| 项目简介 | |||||
|---|---|---|---|---|---|
| 技术简介: | |||||
| 专利类型: | 实用新型 | 专利申请号: | CN202321110821.1 | 公开号: | CN219921874U |
| 专利权人: | 南方医科大学珠江医院 | 发明设计人: | 蔡丹婷;曹剑云;郑超 | ||
| 所属领域: | |||||
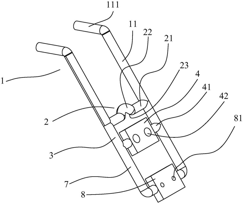
| 摘要: | 本实用新型公开一种鼻癌放射治疗中用于固定插值模具的固定器,包括耳架,鼻梁架和固定支架;耳架包括两个向后延伸的支撑臂,所述支撑臂延伸的一端分别设有搁置在耳朵的后端部的挂耳部;所述鼻梁架的两个鼻梁架端部分别固定至所述两个支撑臂的另一端;所述固定支架为两个且分别可拆卸地连接至所述两个支撑臂;第一固定块,所述第一固定块的两个第一固定块端部架设于所述两个固定支架,且所述第一固定块沿着所述两个固定支架移动;所述第一固定块设有第一通孔,所述第一通孔可供固定插值模具通过并置入瘤体。还包括延长支架,延长支架上设有第二固定块,第二固定块上设有可供施源管通过并置入瘤体的第二通孔,实现同时固定插值模具和施源管。 | ||||
| 补充信息 | |||||
| 转让方式: | 成熟度: | 预估价值: | |||
| 市场前景: | |||||