样品
成果详情
| 项目简介 | |||||
|---|---|---|---|---|---|
| 技术简介: | |||||
| 专利类型: | 实用新型 | 专利申请号: | CN201921780388.6 | 公开号: | CN211068048U |
| 专利权人: | 南方医科大学南方医院 | 发明设计人: | 罗笑婷;王莉慧 | ||
| 所属领域: | |||||
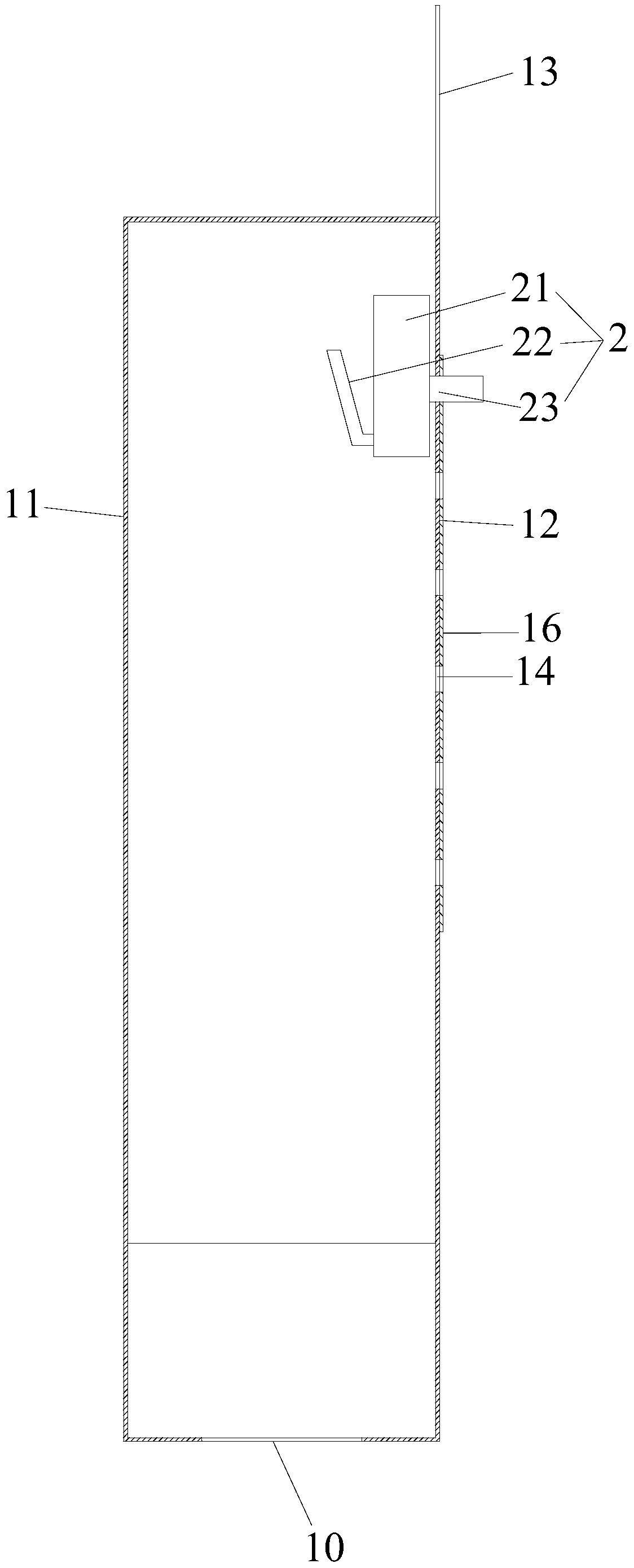
| 摘要: | 本实用新型公开了一种避光袋,包括可挂置的避光袋体,避光袋体的底部中心有开孔,侧面有拉链,避光袋体的后袋面上开有上下间隔分布的若干挂孔,还包括独立输液钩挂件,独立输液钩挂件的前后侧分别有挂钩和挂杆,独立输液钩挂件可上下移动地通过挂杆插入固定在相应挂孔上。本实用新型的避光袋可避免放入避光袋内的输液袋倾斜,保持输液袋处于基本竖直的倒置状态,有利于输液袋内的液体顺利流出,从而保证静脉滴注顺利进行。 | ||||
| 补充信息 | |||||
| 转让方式: | 成熟度: | 预估价值: | |||
| 市场前景: | |||||