样品
成果详情
| 项目简介 | |||||
|---|---|---|---|---|---|
| 技术简介: | |||||
| 专利类型: | 实用新型 | 专利申请号: | CN202322941788.3 | 公开号: | CN221998154U |
| 专利权人: | 南方医科大学南方医院 | 发明设计人: | 苏青;侯晓敏;姚艳;彭焕椽;何利君;蒲小芹;徐靖;董梦柠 | ||
| 所属领域: | |||||
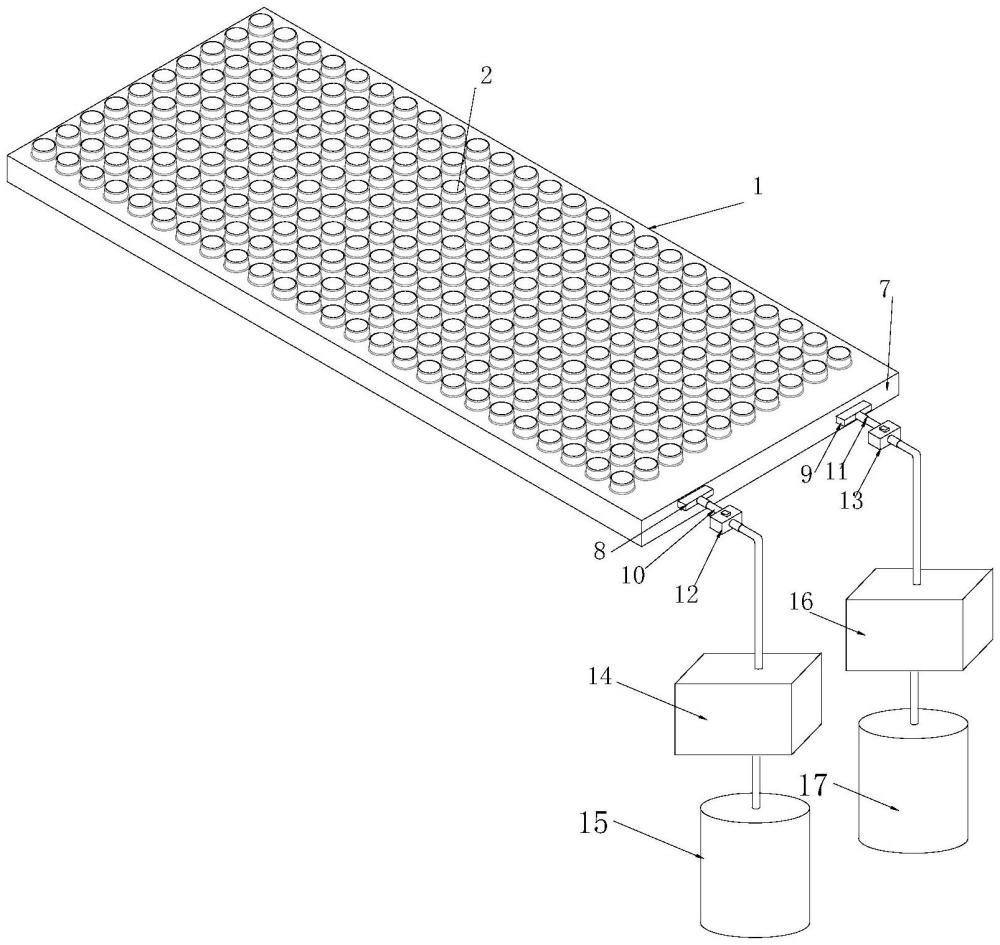
| 摘要: | 本实用新型公开了一种围术期加速康复护理多功能复温系统,分别包含第一气囊通孔和第二气囊通孔的气囊两两相交错的排布在垫体上,还包括有将垫体下端面与底板之间分为第一进气空间和第二进气空间两种充气空间的中间隔板;第一进气空间和第二进气空间分别与外部气源连通;还包括有与外部气源连通的、用于将气体加热并保持到预定温度的气体温控装置,还包括有控制系统,其用于控制气体温控装置对从气源输入的气体进行温度控制,并控制气泵将温控后的气体分别在预定时间冲入到充气空间或从充气空间将气体放出。本实用新型能改善受压部位的血运,同时具有保温功能,达到防止压力性损伤及低体温的产生目的的加速康复护理多功能复温系统。 | ||||
| 补充信息 | |||||
| 转让方式: | 成熟度: | 预估价值: | |||
| 市场前景: | |||||