样品
成果详情
| 项目简介 | |||||
|---|---|---|---|---|---|
| 技术简介: | |||||
| 专利类型: | 发明 | 专利申请号: | CN201610394037.6 | 公开号: | CN105943296A |
| 专利权人: | 南方医科大学南方医院 | 发明设计人: | 黄广龙;漆松涛;张喜安;彭俊祥;殷延毅;石瑾;刘亚伟;王晓艳;莫益萍;邱晓瑜;苏青 | ||
| 所属领域: | |||||
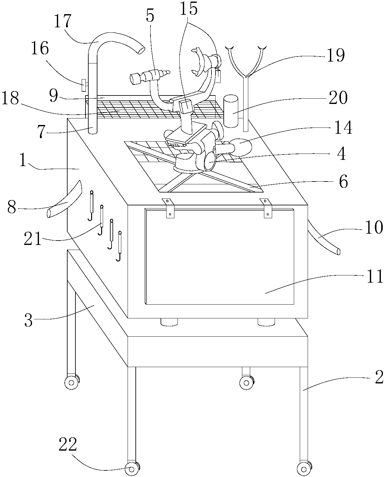
| 摘要: | 本发明公开了多功能神经外科解剖操作平台,包括操作台、用于支撑操作台的台脚,操作台与台脚之间设有能驱动操作台升降的升降装置,还包括液压式万向阻尼云台、三点式固定头架,操作台上表面镂空,该镂空处设有支架,液压式万向阻尼云台设在支架上,三点式固定头架安装在液压式万向阻尼云台上,操作台上表面左上角安装有水龙头,水龙头底端与自来水管道连通,操作台内安装有抽屉式水槽,抽屉式水槽一侧面连接有排水管,排水管与抽屉式水槽相通,操作台正面设有隔板,隔板通过铰链与操作台上表面边缘铰接。本发明的优点是:本发明可实现标本的准确牢靠固定,实现全方位调整标本位置,配套冲洗系统、升降系统及防护系统以实现训练安全。 | ||||
| 补充信息 | |||||
| 转让方式: | 成熟度: | 预估价值: | |||
| 市场前景: | |||||