样品
成果详情
| 项目简介 | |||||
|---|---|---|---|---|---|
| 技术简介: | |||||
| 专利类型: | 实用新型 | 专利申请号: | CN202322763097.9 | 公开号: | CN221998030U |
| 专利权人: | 南方医科大学南方医院 | 发明设计人: | 张敏 | ||
| 所属领域: | |||||
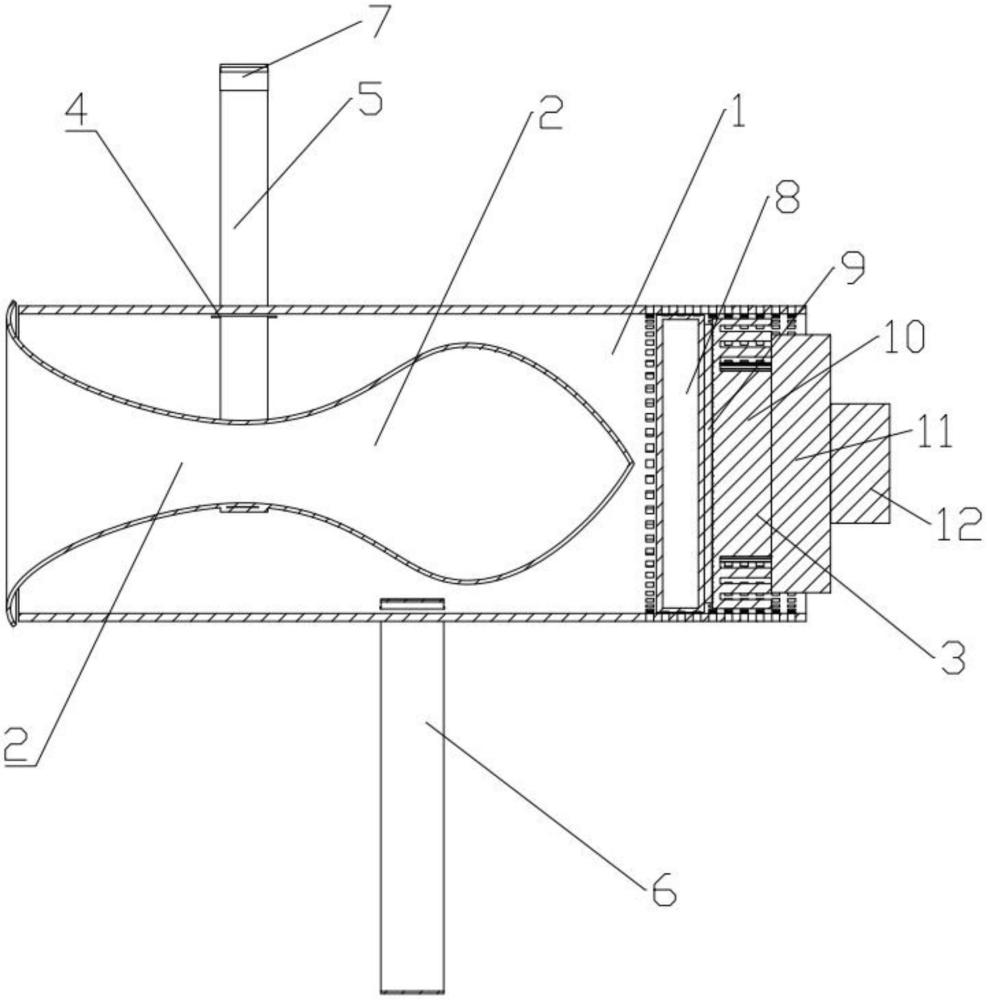
| 摘要: | 本实用新型公开了一种手术室用肢体固定装置:包括筒状壳,筒状壳的一侧设有手部容纳套;筒状壳的另一端的开口处设有散热机构;筒状壳的外壁上在靠近手部容纳套和筒状壳连接处的一侧上对称设有束缚孔,束缚孔上穿过一条束缚带,手部容纳套穿过束缚带和筒状壳内部的空间;筒状壳的外壁上穿过有固定带。病人的手伸到手部容纳套内,然后拉紧束缚带,把病人的固定在筒状壳内,然后在系上束缚带。再把筒状壳通过固定带栓到床上;防止病人挣扎,穿戴也方便。结构简单,设计新颖,穿起来更舒服,有效的实现了对病人的手腕的约束。 | ||||
| 补充信息 | |||||
| 转让方式: | 成熟度: | 预估价值: | |||
| 市场前景: | |||||