样品
成果详情
| 项目简介 | |||||
|---|---|---|---|---|---|
| 技术简介: | |||||
| 专利类型: | 实用新型 | 专利申请号: | CN201921340023.1 | 公开号: | CN210991833U |
| 专利权人: | 南方医科大学南方医院 | 发明设计人: | 宋娟;王莉慧;杨莉 | ||
| 所属领域: | |||||
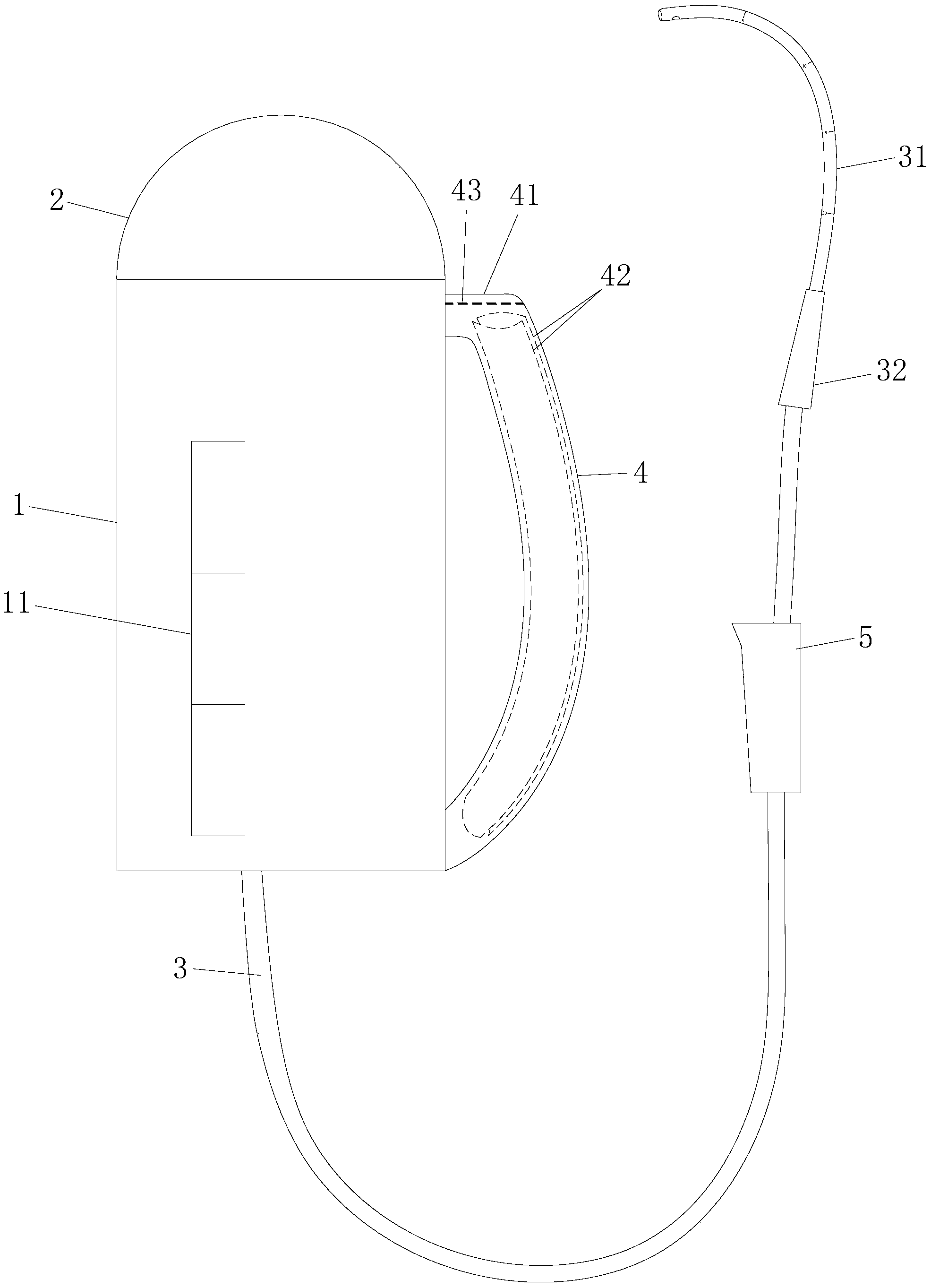
| 摘要: | 本实用新型公开了一种新型一次性使用灌肠袋,包括灌肠袋,灌肠袋的底部连接有灌肠管道,灌肠管道的前段为润滑段,所述灌肠袋的侧面连接有侧袋,侧袋的上下两端与灌肠袋固定连接,侧袋的上下两端之间与灌肠袋之间不连接,侧袋的上端有供润滑段伸入侧袋内并固定在侧袋内的开口,侧袋内为润滑腔。本实用新型的新型一次性使用灌肠袋在灌肠到一半病人上洗手间时,可将管道插入至侧袋内,可避免管道掉落至地面。 | ||||
| 补充信息 | |||||
| 转让方式: | 成熟度: | 预估价值: | |||
| 市场前景: | |||||