样品
成果详情
| 项目简介 | |||||
|---|---|---|---|---|---|
| 技术简介: | |||||
| 专利类型: | 实用新型 | 专利申请号: | CN202421458813.0 | 公开号: | CN222930139U |
| 专利权人: | 南方医科大学珠江医院 | 发明设计人: | 曹秀云;陈瑜;刘海燕;高雅琴;王慕瑶;周茹芳 | ||
| 所属领域: | |||||
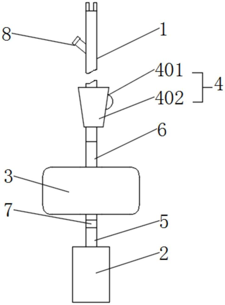
| 摘要: | 本实用新型公开了一种用于连接雾化器的雾化处理结构,包括鼻吸管;所述鼻吸管与雾化器之间通过一存储装置相连通,所述存储装置与所述雾化器之间设置有单向阀,所述单向阀用于防止存储装置内的药液雾气倒流回雾化器,所述鼻吸管上设置有调节器。本实用新型具有防止药液雾气浪费的优点。 | ||||
| 补充信息 | |||||
| 转让方式: | 成熟度: | 预估价值: | |||
| 市场前景: | |||||