样品
成果详情
| 项目简介 | |||||
|---|---|---|---|---|---|
| 技术简介: | |||||
| 专利类型: | 实用新型 | 专利申请号: | CN202223378035.8 | 公开号: | CN219048604U |
| 专利权人: | 南方医科大学南方医院 | 发明设计人: | 刘贵玲;邓瑛瑛;冯丹;周阳;卜剑蓉 | ||
| 所属领域: | |||||
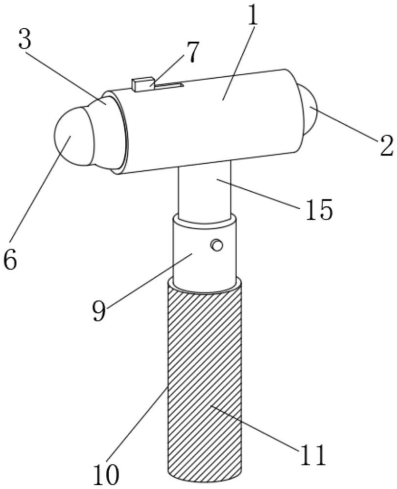
| 摘要: | 本实用新型公开了一种神经外科用多功能护理检查器,涉及医疗器械技术领域,包括锤体,所述锤体的两端分别设有第一锤头和第二锤头,所述第一锤头与锤体固定连接,所述锤体内设有第一空腔,所述第二锤头设于第一空腔内,所述第二锤头内设有第二空腔,所述第二空腔内设有第三锤头,所述第三锤头上固定设有滑块,所述锤体、第二锤头上均设有与滑块配合的滑槽,所述滑块的顶端穿过滑槽延伸至锤体外部,所述锤体底部竖直设有锤柄,通过第一锤头、第二锤头和第三锤头的设置,三个锤头大小均不相同,方便在使用时根据实际需求进行选择,第一锤头、第二锤头和第三锤头均是橡胶材质,在叩诊时起到缓冲作用,避免对人体造成伤害。 | ||||
| 补充信息 | |||||
| 转让方式: | 成熟度: | 预估价值: | |||
| 市场前景: | |||||