样品
成果详情
| 项目简介 | |||||
|---|---|---|---|---|---|
| 技术简介: | |||||
| 专利类型: | 实用新型 | 专利申请号: | CN202223323774.7 | 公开号: | CN219166574U |
| 专利权人: | 南方医科大学珠江医院 | 发明设计人: | 宋霞梅;钟春霞;林宝杰;何海燕;刘卫 | ||
| 所属领域: | |||||
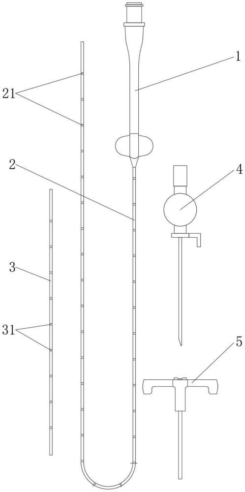
| 摘要: | 本实用新型公开了一种提高新生儿PICC穿刺成功率的装置。一种提高新生儿PICC穿刺成功率的装置,包括连接座、导管、试验导管和穿刺针,以及,能够分别与所述连接座、导管、试验导管、穿刺针配合装设在一起的导入件,其中,所述导管与连接座的输出端连接在一起,在所述连接座的输入端设有连接管,所述连接管的末端设有输液接头,在所述连接座的两侧均设有翼片,在所述导管上沿长度方向设有第一刻度,在所述试验导管上沿长度方向设有能够与所述第一刻度配对的第二刻度。本实用新型一种提高新生儿PICC穿刺成功率的装置,有利于医护人员测量和裁剪导管,有利于提高导管穿刺成功率并且能够降低感染几率和治疗风险。 | ||||
| 补充信息 | |||||
| 转让方式: | 成熟度: | 预估价值: | |||
| 市场前景: | |||||