样品
成果详情
| 项目简介 | |||||
|---|---|---|---|---|---|
| 技术简介: | |||||
| 专利类型: | 实用新型 | 专利申请号: | CN202121216750.4 | 公开号: | CN216258003U | 
| 专利权人: | 南方医科大学南方医院 | 发明设计人: | 刘欢欢;邓素芬;邹金华 | ||
| 所属领域: | |||||
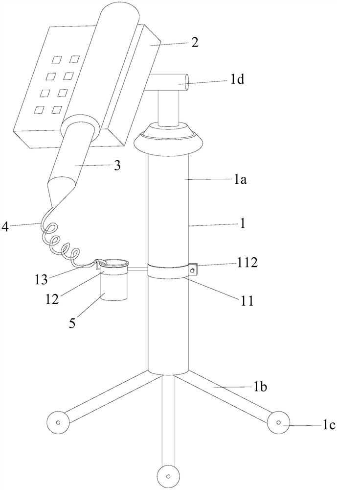
| 摘要: | 本实用新型公开了一种高压注射器液体收集盒,包括立式支架、固定于立式支架上端的固定座、可拆卸安装在固定座上的高压注射针筒,高压注射针筒的注射头连接有排液管,所述立式支架上可拆卸固定有液体收集盒,排液管的末端可拆卸固定在液体收集盒的进液口边缘。本实用新型的高压注射器液体收集盒无需护士转换垃圾桶位置收集废液,给使用带来了方便,避免了排液过程中造影剂污染周边环境。 | ||||
| 补充信息 | |||||
| 转让方式: | 成熟度: | 预估价值: | |||
| 市场前景: | |||||