样品
成果详情
| 项目简介 | |||||
|---|---|---|---|---|---|
| 技术简介: | |||||
| 专利类型: | 实用新型 | 专利申请号: | CN202320755296.2 | 公开号: | CN219516579U |
| 专利权人: | 南方医科大学珠江医院 | 发明设计人: | 刘叶;柏乐瑾;李娜 | ||
| 所属领域: | |||||
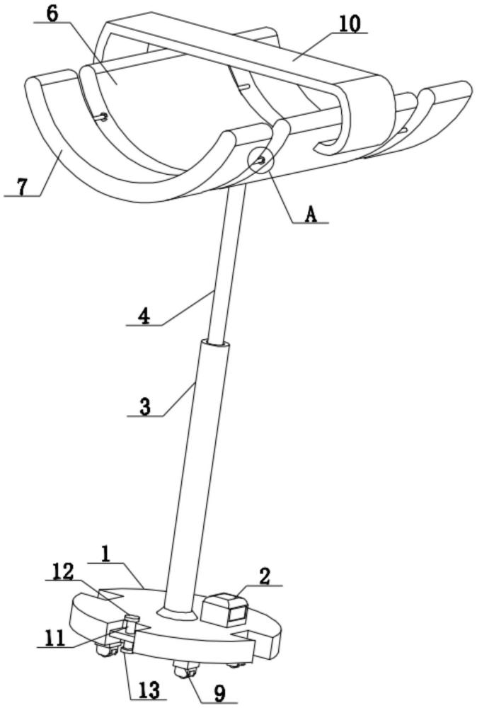
| 摘要: | 本实用新型公开了一种小腿抬高固定器,包括底座,所述底座的上端固定连接有固定管,所述固定管的腔体内滑动连接有移动管,所述固定管与移动管之间设有升降组件,所述移动管的顶端固定连接有第一支撑板,所述第一支撑板的两侧均活动连接有第二支撑板,所述第一支撑板与第二支撑板的一侧均设有安装组件。本实用新型采用上述结构,在U形第一支撑板的两侧活动安装U型第二支撑板,移动第二支撑板,第二支撑板连接的滑杆在第一支撑板的第二滑槽内滑动,因此可延长对小腿部支撑处的长度,根据不同患者的小腿长度进行调整,使患者小腿放置时更加舒适,利于患者的治疗,提高小腿抬高固定器的实用性。 | ||||
| 补充信息 | |||||
| 转让方式: | 成熟度: | 预估价值: | |||
| 市场前景: | |||||