样品
成果详情
| 项目简介 | |||||
|---|---|---|---|---|---|
| 技术简介: | |||||
| 专利类型: | 发明 | 专利申请号: | CN201410100461.6 | 公开号: | CN103829997B |
| 专利权人: | 南方医科大学 | 发明设计人: | 李鉴轶;王建华;孔祥雪;肖菊姣;李学仕;王张林;游辅宇 | ||
| 所属领域: | |||||
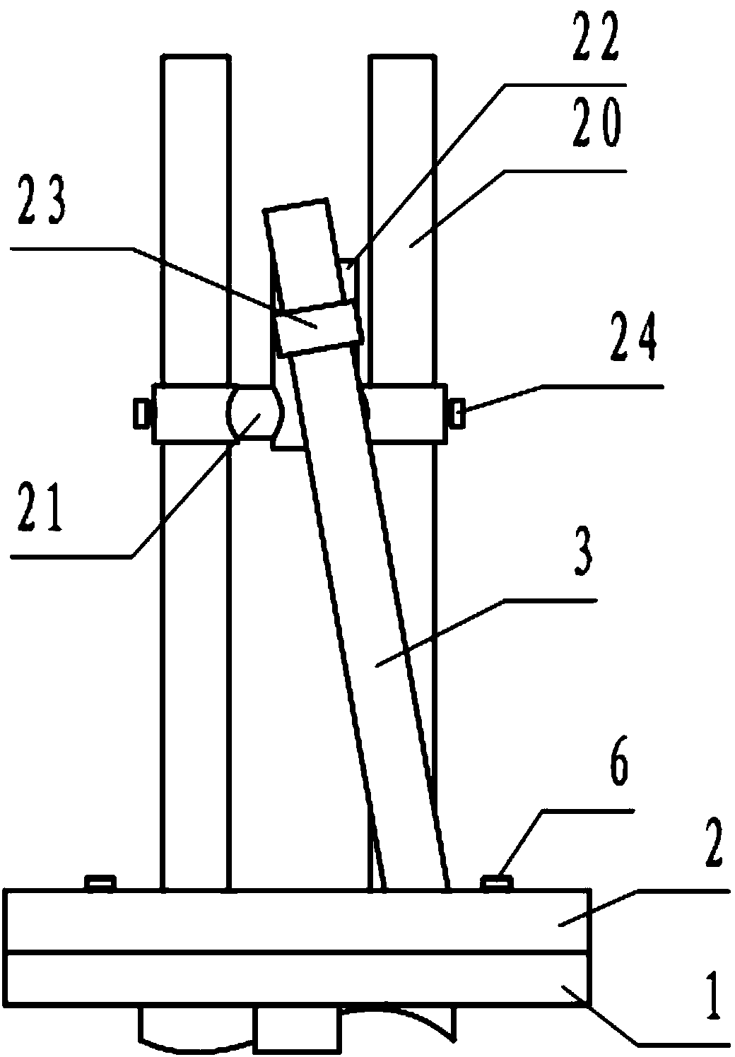
| 摘要: | 本发明涉及一种经口咽行难复性寰枢椎脱位固定手术的导向模板,该导向模板为采用Ⅲ代TARP钢板行所述固定手术时进行个性化置钉的导向模板,它包括用于覆盖在Ⅲ代TARP钢板上的TARP钢板定位底板、枢椎定位基板、导向套管和导向套管倾角调整机构;其中,所述的导向套管为一圆柱杆,其体内延轴线设有导向孔,下头设有第一球头;所述的枢椎定位基板覆盖在TARP钢板定位底板上,调整好二者的位置关系后用锁定螺钉固定在一起,将所述导向套管上的第一球头夹持在二者之间;所述的导向套管倾角控制机构设在所述枢椎定位基板的上表面。本导向模板可针对个体的解剖差异调整进钉位置和方向,不仅可对难复型寰枢椎脱位患者行经口寰枢椎复位内固定手术,而具有定位准确的优点。 | ||||
| 补充信息 | |||||
| 转让方式: | 成熟度: | 预估价值: | |||
| 市场前景: | |||||