样品
成果详情
| 项目简介 | |||||
|---|---|---|---|---|---|
| 技术简介: | |||||
| 专利类型: | 实用新型 | 专利申请号: | CN202223089122.1 | 公开号: | CN219000864U |
| 专利权人: | 南方医科大学珠江医院 | 发明设计人: | 舒繁;许木清;张宏征 | ||
| 所属领域: | |||||
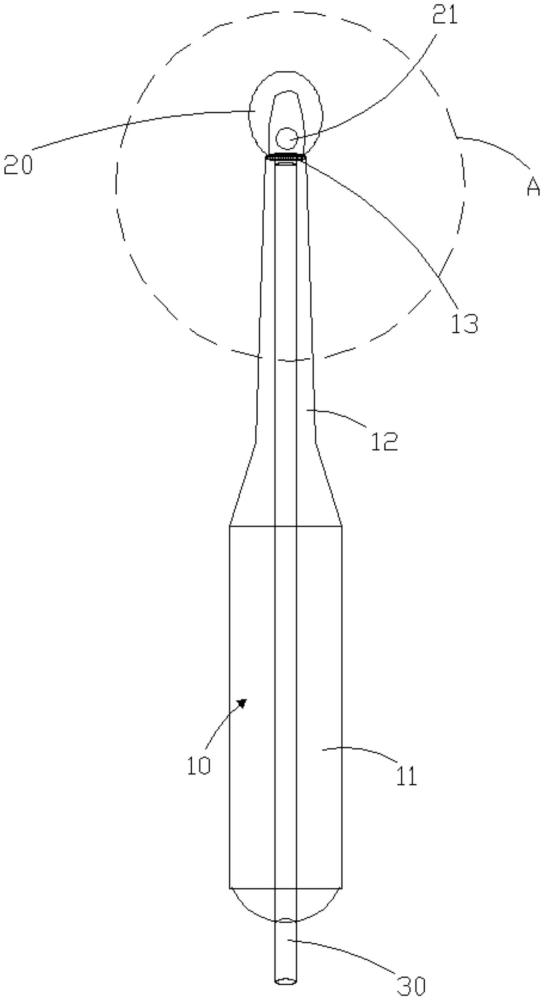
| 摘要: | 本实用新型公开了一种耳科用吸引刮匙,包括刮匙本体、刮匙刮头及刮匙管;刮匙本体具有内腔,刮匙刮头设有与内腔相连通的收集腔;刮匙管设于内腔内,刮匙管设有穿设刮匙本体的外露端,外露端用于连接负压吸附装置。上述耳科用吸引刮匙通过在刮匙本体内设置有刮匙管,刮匙刮头设有收集腔,将刮匙刮头在耳部手术中刮下来的病变或骨组织收集在收集腔内,然后直接被带负压的刮匙管吸走,及时清理病变组织,保持术野清晰。 | ||||
| 补充信息 | |||||
| 转让方式: | 成熟度: | 预估价值: | |||
| 市场前景: | |||||