样品
成果详情
| 项目简介 | |||||
|---|---|---|---|---|---|
| 技术简介: | |||||
| 专利类型: | 实用新型 | 专利申请号: | CN202121957903.0 | 公开号: | CN216136486U | 
| 专利权人: | 南方医科大学南方医院 | 发明设计人: | 姚广裕;于梦;林周盛;黄泽;兰新月;廖明楷;崔光曼;林嘉英;叶长生 | ||
| 所属领域: | |||||
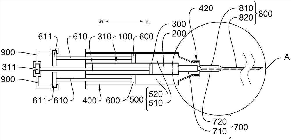
| 摘要: | 本实用新型公开了一种双腔注射器,包括:第一注射筒,其内设有第一注射腔并且其前端设有第一注射接头,第一注射腔内设有第一活塞,第一活塞远离第一注射接头的一侧连接有第一活塞推杆;第二注射筒,第一注射筒设于第二注射筒内,第一注射筒与第二注射筒之间具有间隙以形成第二注射腔,第二注射筒的前端设有连通于第二注射腔的第二注射接头,第二注射腔内设置有第二活塞,第二活塞远离第二注射接头的一侧连接有第二活塞推杆;第一针头,穿过第二注射接头并可拆卸地连接于第一注射接头;第二针头,套设于第一针头上并可拆卸地连接于第二注射接头,第二针头与第一针头同心设置。上述双腔注射器能够将两种凝胶状的注射物同心注射。 | ||||
| 补充信息 | |||||
| 转让方式: | 成熟度: | 预估价值: | |||
| 市场前景: | |||||