样品
成果详情
| 项目简介 | |||||
|---|---|---|---|---|---|
| 技术简介: | |||||
| 专利类型: | 发明 | 专利申请号: | CN201811130824.5 | 公开号: | CN109223157A |
| 专利权人: | 南方医科大学南方医院 | 发明设计人: | 李涛;傅丽兰;王健;史占军;吴宣平 | ||
| 所属领域: | |||||
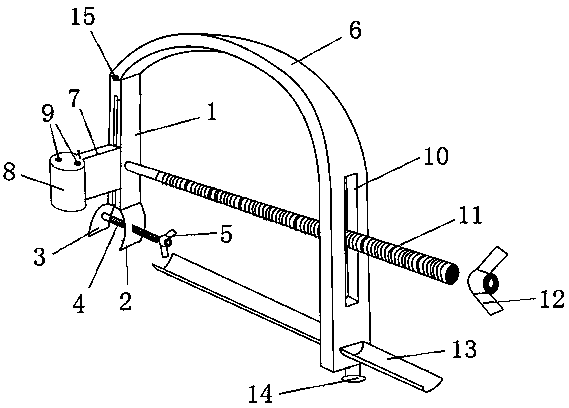
| 摘要: | 本发明提出了一种喙锁韧带重建器及其使用方法,以用于在微创情况下完成肩锁关节复位及喙锁韧带重建,减少患者创伤,降低手术难度。该喙锁韧带重建器包括复位杆,复位杆的底端设有用于夹紧锁骨的复位钳,复位杆的顶端与C型柄的一端铰接,复位杆设有可沿复位杆轴向移动的移动块,移动块通过转轴安装有定位块,定位块上间隔设有两个定位通道;C型柄在远离复位杆的一端设有条形通孔,复位杆的侧部固定安装有调节螺杆,调节螺杆穿过C型柄的条形通孔,调节螺杆的端部设有调节螺母;C型柄在条形通孔的下方设有朝向于复位杆方向的导板通孔,导板通孔活动安装有导板,C型柄在导板通孔的旁侧安装有导板锁紧螺栓,所述导板锁紧螺栓伸入到导板通孔内。 | ||||
| 补充信息 | |||||
| 转让方式: | 成熟度: | 预估价值: | |||
| 市场前景: | |||||