样品
成果详情
| 项目简介 | |||||
|---|---|---|---|---|---|
| 技术简介: | |||||
| 专利类型: | 实用新型 | 专利申请号: | CN202220078419.9 | 公开号: | CN218572197U |
| 专利权人: | 南方医科大学南方医院 | 发明设计人: | 向萍;刘莉;方浩庭;朱宏 | ||
| 所属领域: | |||||
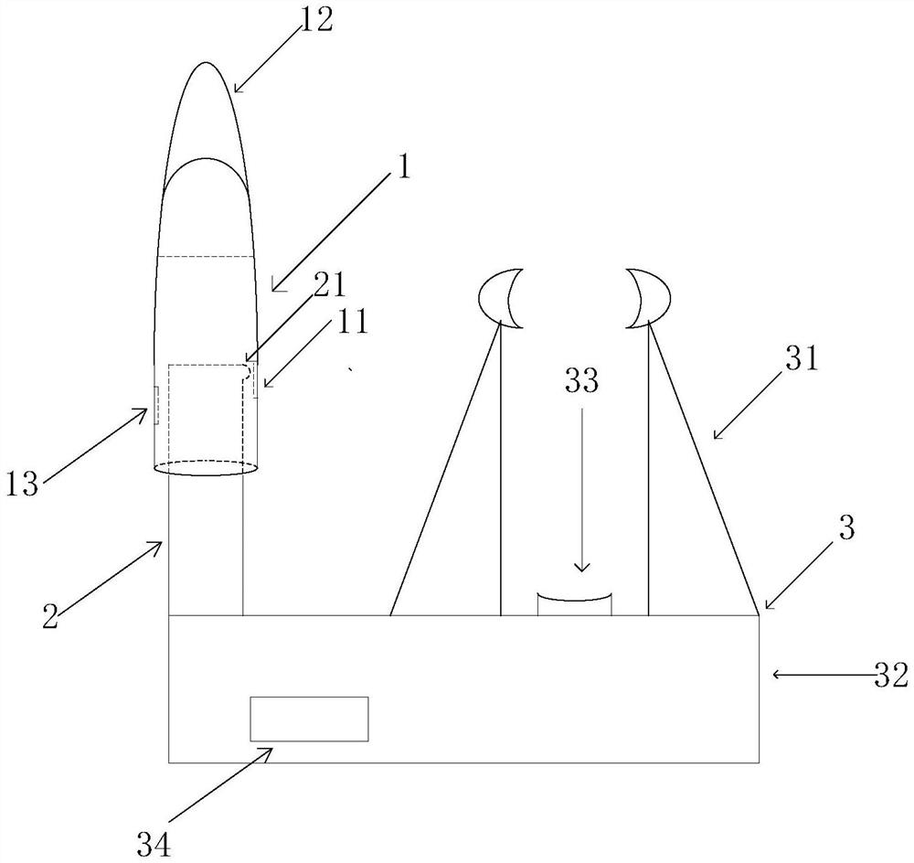
| 摘要: | 本实用新型公开了一种指尖血采集辅助仪,包括手套、手套支撑部和夹持设备所述夹持设备包括底座;所述手套支撑部固定设置于所述底座;所述手套支撑部用于放置所述手套;所述手套包括加热装置和可拆卸指套;所述加热装置设置于所述手套的内部;所述可拆卸指套用于外露被采血者的手指。该辅助仪器通过设有加热模块的手套对人体手部进行加热,可以促进人体手部血液循环;在人体带上手套为手指升温时,通过可拆卸指套将人体的手指外露进行指尖采血,使指尖采血过程在寒冷天气下仍能正常进行,降低指尖采血的难度。本实用新型可广泛应用于医疗设备技术领域内。 | ||||
| 补充信息 | |||||
| 转让方式: | 成熟度: | 预估价值: | |||
| 市场前景: | |||||