样品
成果详情
| 项目简介 | |||||
|---|---|---|---|---|---|
| 技术简介: | |||||
| 专利类型: | 实用新型 | 专利申请号: | CN202320251846.7 | 公开号: | CN219148358U |
| 专利权人: | 南方医科大学 | 发明设计人: | 白晓春;蔡志清 | ||
| 所属领域: | |||||
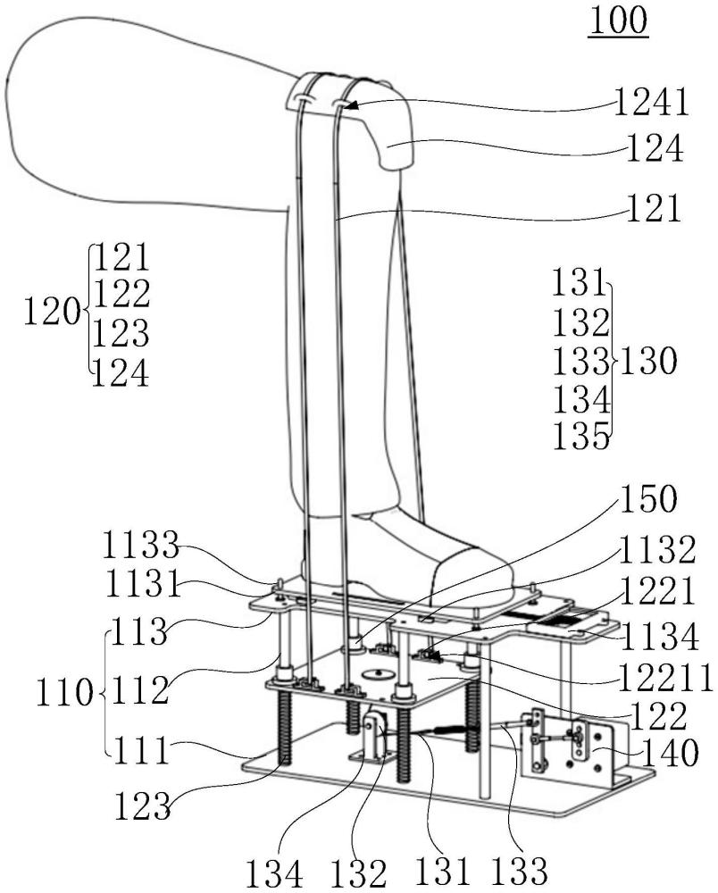
| 摘要: | 本实用新型提供一种训练康复装置,涉及训练康复装置技术领域。训练康复装置包括支撑座、牵拉机构、导向牵引机构和驱动机构。支撑座的立柱分别与底板和顶板固定连接;牵拉机构包括牵拉带、动板和弹性件,动板活动地套设于立柱上,牵拉带分别与动板和人体膝盖连接,弹性件套设于立柱上,且分别与动板和底板相抵接;导向牵引机构包括牵引绳、定滑轮和连接件,牵引绳分别与动板和连接件连接,且与定滑轮相抵接;驱动机构与连接件连接,用于驱动连接件往复直线运动,以通过牵引绳和弹性件带动动板沿立柱往复直线运动,从而带动牵拉带牵拉人体膝盖。本实用新型提供的训练康复装置,能够对人体腿部产生稳定、持续以及节律性的骨应力刺激。 | ||||
| 补充信息 | |||||
| 转让方式: | 成熟度: | 预估价值: | |||
| 市场前景: | |||||