样品
成果详情
| 项目简介 | |||||
|---|---|---|---|---|---|
| 技术简介: | |||||
| 专利类型: | 实用新型 | 专利申请号: | CN202120064442.8 | 公开号: | CN215132908U | 
| 专利权人: | 南方医科大学南方医院 | 发明设计人: | 吴红伦;赵东艳;朱碧丽 | ||
| 所属领域: | |||||
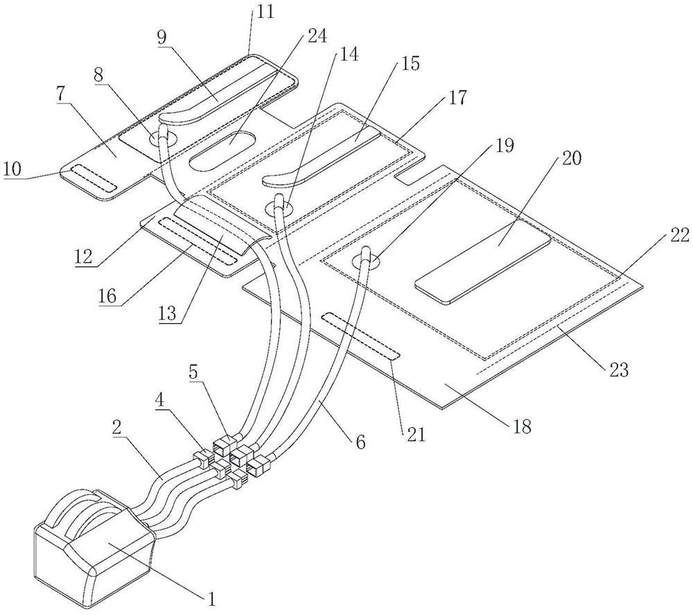
| 摘要: | 本实用新型公开了一种预防下肢血栓形成的可调压力的腿套装置,该腿套创新性的第一、二、三腿套内分别设置了松紧带,可适应不同的粗细腿部患者使用,并且该装置分别通过三条通气管与第一、二、三接头连接,三条通气管的另一端设置有加压插头,加压插头与前插头连接,前插头通过气管与压力泵连接,在压力泵上每个气管位置设有一个调压块,可通过调节调压块,单独调节每个气管的进入气囊的进气压力,进而控制不同区域第一、二、三气囊的按揉压力,该装置还将腿套分区设计成第一、二、三腿套,可针对不同区域的腿部进行揉按,并且在第二腿套表面设有可以穿过通气管的贯通槽,避免了通气管凌乱设在腿套上,解决了当前腿套无法分区按揉的问题。 | ||||
| 补充信息 | |||||
| 转让方式: | 成熟度: | 预估价值: | |||
| 市场前景: | |||||