样品
成果详情
| 项目简介 | |||||
|---|---|---|---|---|---|
| 技术简介: | |||||
| 专利类型: | 实用新型 | 专利申请号: | CN202320909592.3 | 公开号: | CN220404597U |
| 专利权人: | 南方医科大学南方医院 | 发明设计人: | 孟维朋;林天晓;陈星;官莉;彭勤宝 | ||
| 所属领域: | |||||
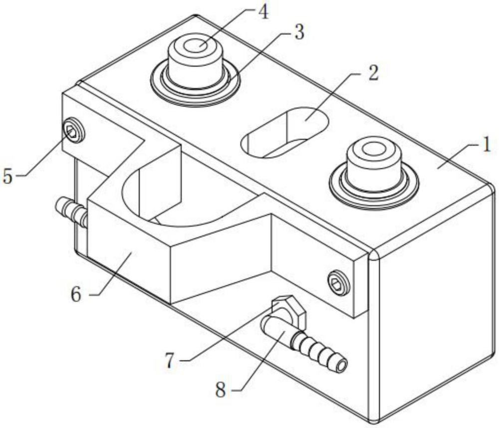
| 摘要: | 本实用新型公开了一种体外循环心肺机专用麻醉气体挥发罐底座,包括:基座,其内部设有挥发罐气槽,基座的侧壁上开设有均与挥发罐气槽相连通的供体外循环气体流动的进气口和出气口,且基座的顶壁上螺接有两个用于与体外循环心肺机专用麻醉气体挥发罐相连通的进气接头,其中:进气接头与挥发罐气槽相连通,进气口以及出气口内均螺接有连接座,连接座上均转动安装有与挥发罐气槽相连通的L形连接弯头。本实用新型提供的体外循环心肺机专用麻醉气体挥发罐底座用于配套体外循环心肺机专用麻醉气体挥发罐使用,使得体外循环心肺机专用麻醉气体挥发罐与患者端的管道连接比较方便,为临床操作提供便利。 | ||||
| 补充信息 | |||||
| 转让方式: | 成熟度: | 预估价值: | |||
| 市场前景: | |||||