样品
成果详情
| 项目简介 | |||||
|---|---|---|---|---|---|
| 技术简介: | |||||
| 专利类型: | 实用新型 | 专利申请号: | CN202021439501.7 | 公开号: | CN213158804U |
| 专利权人: | 南方医科大学南方医院 | 发明设计人: | 陈泽纯;黄榕;蔡丽红;陈宝梅;曾嘉 | ||
| 所属领域: | |||||
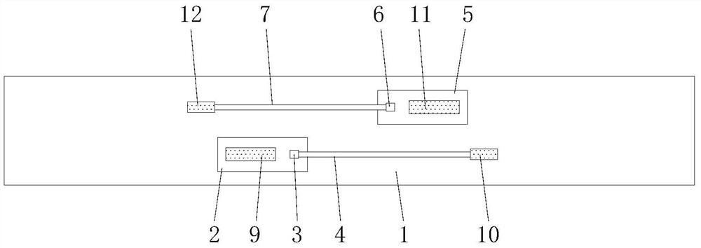
| 摘要: | 本实用新型公开了一种医用可调节鼻导管固定器,包括胶布,所述胶布前侧的左侧固定连接有第一连接扣,所述第一连接扣前侧的右侧固定连接有第一连接块,所述第一连接块的右侧固定连接有第一调节卡线,所述胶布前侧的右侧固定连接有第二连接扣,所述第二连接扣前侧的左侧固定连接有第二连接块,所述第二连接块的左侧固定连接有第二调节卡线。本实用新型具备固定稳定及可对不同大小鼻腔的鼻导管进行固定的优点,解决了现有的鼻导管固定器,在使用过程中,由于结构单一,无法对鼻管进行有效的固定,导致鼻管容易发生脱落现象,且不能对不同大小管腔的鼻导管进行固定,从而降低了鼻导管固定器适用性的问题。 | ||||
| 补充信息 | |||||
| 转让方式: | 成熟度: | 预估价值: | |||
| 市场前景: | |||||