样品
成果详情
| 项目简介 | |||||
|---|---|---|---|---|---|
| 技术简介: | |||||
| 专利类型: | 实用新型 | 专利申请号: | CN202222618683.X | 公开号: | CN218900200U |
| 专利权人: | 南方医科大学南方医院 | 发明设计人: | 谭定国 | ||
| 所属领域: | |||||
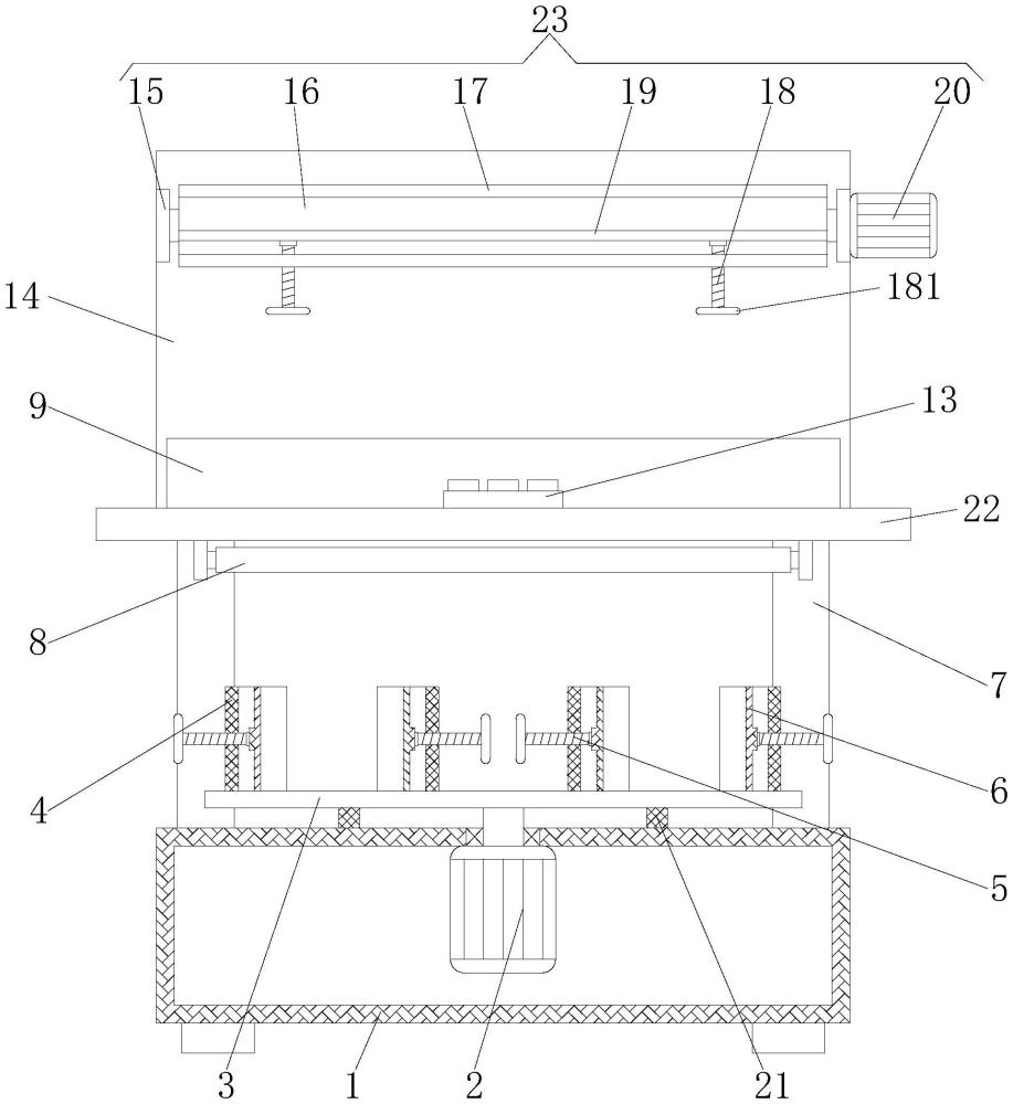
| 摘要: | 本实用新型公开了一种静脉输液配液装置,包括底壳,所述底壳内腔的顶部通过螺栓连接有第一电机,第一电机的传动轴伸出底壳的顶部并连接有转动机构,转动机构的顶部设置有第一定位机构,所述底壳的顶部通过立式的支撑杆连接有横板,横板顶部有立式的安装板和位于安装板前侧的可一次性定位多个药剂瓶的第二定位机构,所述安装板前侧的上部设置有可一次性夹持多个药瓶的夹瓶机构。本实用新型通过夹瓶机构可一次性夹持多个内装有药剂的药瓶,代替手反复多次取换拿持药瓶的方式,减少了医护人员的工作量。 | ||||
| 补充信息 | |||||
| 转让方式: | 成熟度: | 预估价值: | |||
| 市场前景: | |||||