样品
成果详情
| 项目简介 | |||||
|---|---|---|---|---|---|
| 技术简介: | |||||
| 专利类型: | 实用新型 | 专利申请号: | CN202220740592.0 | 公开号: | CN217566136U |
| 专利权人: | 南方医科大学南方医院 | 发明设计人: | 余江;陈新华;陈佳仪;李国新;胡彦锋;黎梦瑶;张惠敏;麦锦胜 | ||
| 所属领域: | |||||
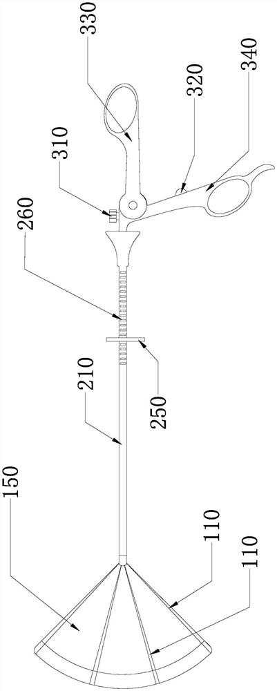
| 摘要: | 本申请提出一种用于腹腔镜手术的扇托装置,用于腹腔镜手术的扇托装置包括操纵单元、连接单元和悬吊单元,连接单元包括连接杆,连接杆安装在操纵单元上,悬吊单元包括柔性扇骨和牵拉线,多个柔性扇骨铰接安装在连接杆上,柔性扇骨传动连接操纵单元,操纵单元能够驱动各个柔性扇骨张开或合拢,牵拉线的一端连接柔性扇骨,牵拉线的另一端连接操纵单元,牵拉线能够驱动柔性扇骨弯曲。先将柔性扇骨合拢放入体内,再张开柔性扇骨,牵拉线使柔性扇骨弯曲,从而使柔性扇骨托住肝脏的下缘,进而牵拉肝脏,实现肝脏的悬吊,使用可弯曲的柔性扇骨能够更好地承托和牵拉肝脏,用于腹腔镜手术的扇托装置能够提高肝脏悬吊质量。 | ||||
| 补充信息 | |||||
| 转让方式: | 成熟度: | 预估价值: | |||
| 市场前景: | |||||