样品
成果详情
| 项目简介 | |||||
|---|---|---|---|---|---|
| 技术简介: | |||||
| 专利类型: | 实用新型 | 专利申请号: | CN202022995660.1 | 公开号: | CN215306324U |
| 专利权人: | 南方医科大学南方医院 | 发明设计人: | 许波;梁钥;乔惠;李丹;罗小琴;宿爱山 | ||
| 所属领域: | |||||
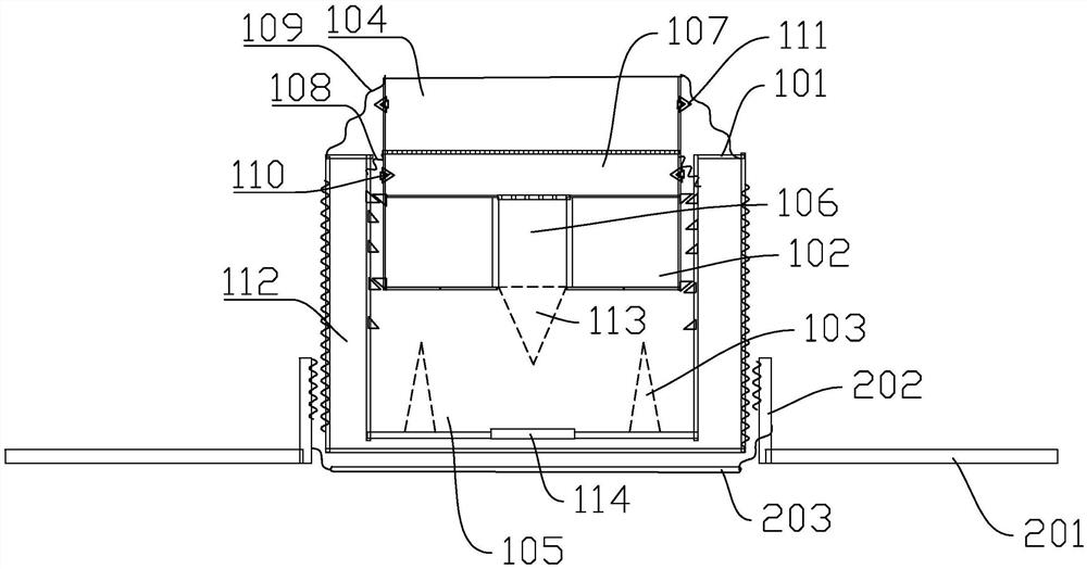
| 摘要: | 本实用新型公开了一种用于按压的止血装置,止血装置包括固定带和止血器,止血器包括外壳、储存装置和至少一个第一穿刺部,储存装置可上下移动地安装在外壳中,储存装置的底部与外壳底部之间构成反应腔,反应腔用于储存参与制冷反应的固态物质,储存装置中设置有至少一个储存格,储存格用于装参与制冷反应的溶液一;第一穿刺部设置在外壳内的底部;外壳的侧壁和底壁设置有用于装硫酸钠溶液的夹层,外壳底部的内壁设置有封膜,储存装置的底部设置有第二穿刺部。固定带将止血器固定在出血位置,按压储存装置,第一穿刺部刺破储存格,溶液一和固态物质反应制冷,加快止血。止血完成后,继续按压储存装置,第二穿刺部刺破外壳底部的封膜。 | ||||
| 补充信息 | |||||
| 转让方式: | 成熟度: | 预估价值: | |||
| 市场前景: | |||||