样品
成果详情
| 项目简介 | |||||
|---|---|---|---|---|---|
| 技术简介: | |||||
| 专利类型: | 实用新型 | 专利申请号: | CN201921014853.5 | 公开号: | CN211301546U | 
| 专利权人: | 南方医科大学南方医院 | 发明设计人: | 李园;程艳卉;周敏洁;王爽;胡艳利;蔡晓佳 | ||
| 所属领域: | |||||
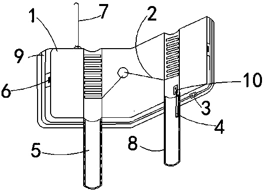
| 摘要: | 一种恒温输液加温器,涉及医疗辅助设备技术领域,包括盒体、电阻丝、加热棒、长细管、挂钩、保温布料和温控电路板,其中盒体包括电源插座、加热棒插座、温度调节按键和显示器,保温布料设在软质材料的盒体内,温控电路板内置在盒体内部,盒体设有凹槽,电阻丝分布在凹槽,电阻丝与温控电路板电连接,加热棒固定在加热棒插座,加热棒和温控电路板电连接,长细管连接在盒体的下方,挂钩连接在盒体上方,显示器和温度调节按键电连接在盒体外表面,电源插座设置在盒体下方。通过利用温控电路板对电阻丝与加热棒的加热进行温控,实现对输液管道进行恒温加热的功能,且使用方便,占用空间少。 | ||||
| 补充信息 | |||||
| 转让方式: | 成熟度: | 预估价值: | |||
| 市场前景: | |||||