样品
成果详情
| 项目简介 | |||||
|---|---|---|---|---|---|
| 技术简介: | |||||
| 专利类型: | 实用新型 | 专利申请号: | CN202021922800.6 | 公开号: | CN213251776U |
| 专利权人: | 南方医科大学南方医院 | 发明设计人: | 李园芳;廖卫华;丁悦;刁莉萍;郑爽欢 | ||
| 所属领域: | |||||
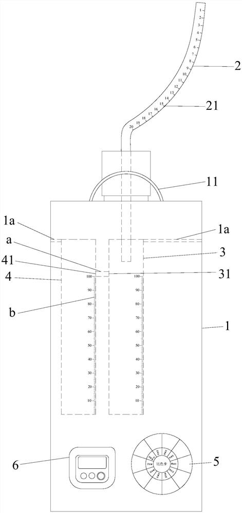
| 摘要: | 本实用新型公开了一种新生儿用精密负压吸引瓶,包括瓶体和连接瓶体的引流管,所述引流管位于瓶体内的末端连接有量杯一,量杯一的上部侧面开有出液口,出液口连接有量杯二,量杯一和量杯二于瓶体内悬空设置且均通过连接杆与瓶体内壁连接,量杯一和量杯二的容量均为100ml,量杯一和量杯二上均有竖向布置的刻度一,且均为每1ml一个刻度。本实用新型的新生儿用精密负压吸引瓶方便精确计算引流量。 | ||||
| 补充信息 | |||||
| 转让方式: | 成熟度: | 预估价值: | |||
| 市场前景: | |||||