样品
成果详情
| 项目简介 | |||||
|---|---|---|---|---|---|
| 技术简介: | |||||
| 专利类型: | 实用新型 | 专利申请号: | CN201721421230.0 | 公开号: | CN207832808U |
| 专利权人: | 南方医科大学深圳医院 | 发明设计人: | 张云聪 | ||
| 所属领域: | |||||
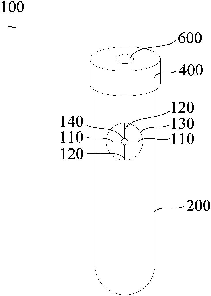
| 摘要: | 本实用新型公开一种血型检测试管,其包括透明设置的试管本体,所述试管本体的内壁涂设有抗A单克隆抗体、抗B单克隆抗体、抗D单克隆抗体以及抗红细胞抗体。本实用新型技术方案旨在简化血型鉴定的步骤。 | ||||
| 补充信息 | |||||
| 转让方式: | 成熟度: | 预估价值: | |||
| 市场前景: | |||||
| 项目简介 | |||||
|---|---|---|---|---|---|
| 技术简介: | |||||
| 专利类型: | 实用新型 | 专利申请号: | CN201721421230.0 | 公开号: | CN207832808U |
| 专利权人: | 南方医科大学深圳医院 | 发明设计人: | 张云聪 | ||
| 所属领域: | |||||
| 摘要: | 本实用新型公开一种血型检测试管,其包括透明设置的试管本体,所述试管本体的内壁涂设有抗A单克隆抗体、抗B单克隆抗体、抗D单克隆抗体以及抗红细胞抗体。本实用新型技术方案旨在简化血型鉴定的步骤。 | ||||
| 补充信息 | |||||
| 转让方式: | 成熟度: | 预估价值: | |||
| 市场前景: | |||||