样品
成果详情
| 项目简介 | |||||
|---|---|---|---|---|---|
| 技术简介: | |||||
| 专利类型: | 实用新型 | 专利申请号: | CN202021615819.6 | 公开号: | CN213047404U |
| 专利权人: | 南方医科大学珠江医院 | 发明设计人: | 韩娜;邓宇;张莉;刘娜 | ||
| 所属领域: | |||||
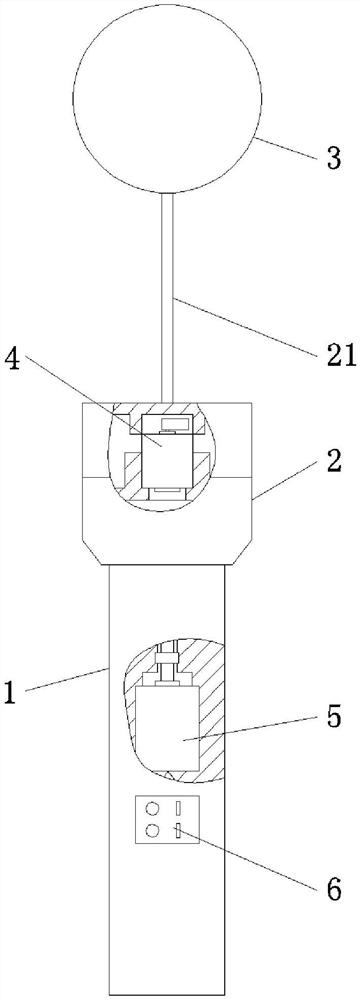
| 摘要: | 本实用新型公开了一种口腔护理器。一种口腔护理器,包括手柄,其中,在所述手柄上设有安装头,所述安装头上设有安装杆,该安装杆上可拆卸装设有棉球,所述安装头内设有振动组件,在所述手柄内部装设有转动组件,所述转动组件与安装头的底部连接,所述手柄上还设有能够分别与振动组件、转动组件连接的带按钮的控制器。本实用新型的一种口腔护理器,具有操作简单方便并且固定棉球效果好等优点。 | ||||
| 补充信息 | |||||
| 转让方式: | 成熟度: | 预估价值: | |||
| 市场前景: | |||||