样品
成果详情
| 项目简介 | |||||
|---|---|---|---|---|---|
| 技术简介: | |||||
| 专利类型: | 实用新型 | 专利申请号: | CN201721196109.2 | 公开号: | CN208551810U |
| 专利权人: | 南方医科大学 | 发明设计人: | 黄文华;李顶;廖政文;陈宇 | ||
| 所属领域: | |||||
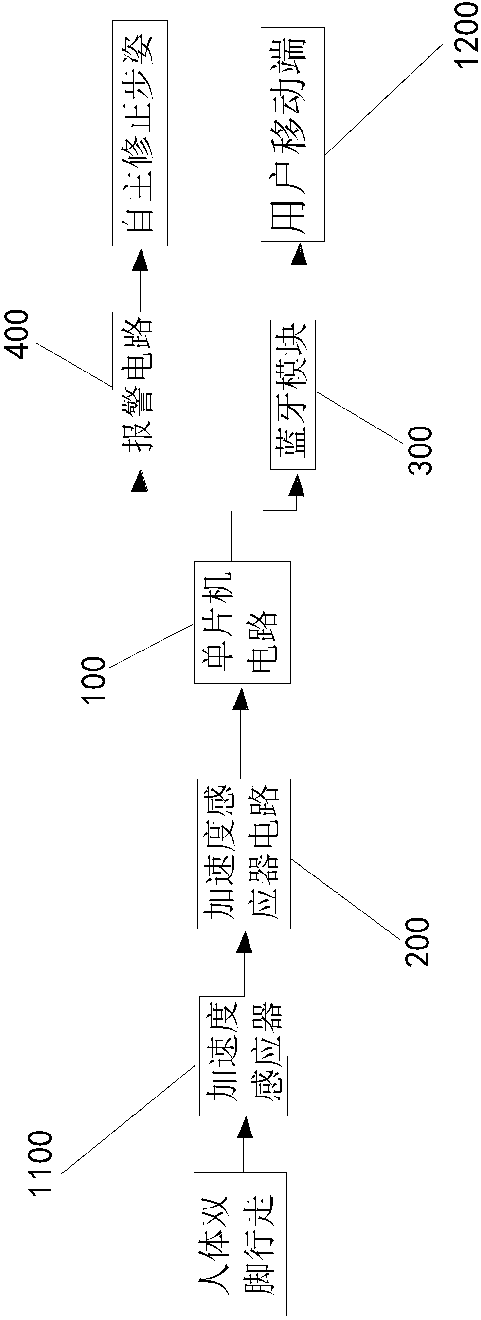
| 摘要: | 一种基于单片机的八字脚走姿矫正仪,设置有加速度传感器、加速度传感器电路、单片机电路、报警电路、蓝牙模块、及用户移动端。加速度传感器与所述加速度传感器电路电连接,加速度传感器电路与单片机电路连接,单片机电路与报警电路、蓝牙模块连接,蓝牙模块与用户移动端以蓝牙方式无线连接。所述加速度传感器的型号为ADXL362用户移动端为手机或者平板电脑或者手环。该八字脚走姿矫正系统在准确度上具有一定优势,实现了实时服务、便携灵活、原理清晰、容易操作,性能稳定、安全性高、成本较低,达到了实时检测及提醒的目标,具有良好的应用前景。 | ||||
| 补充信息 | |||||
| 转让方式: | 成熟度: | 预估价值: | |||
| 市场前景: | |||||