样品
成果详情
| 项目简介 | |||||
|---|---|---|---|---|---|
| 技术简介: | |||||
| 专利类型: | 实用新型 | 专利申请号: | CN202120628659.7 | 公开号: | CN214710644U | 
| 专利权人: | 南方医科大学南方医院 | 发明设计人: | 姚琳;叶桂荣;王莉慧;史丽莎 | ||
| 所属领域: | |||||
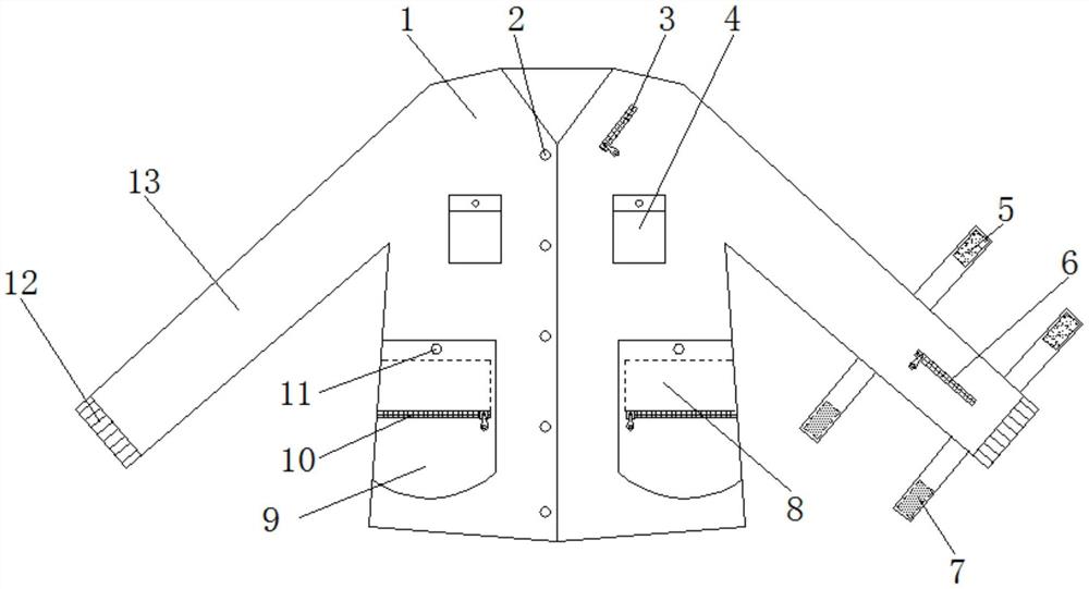
| 摘要: | 本实用新型公开了改良的病号服,包括衣体,所述衣体正表面中端的右侧设置有纽扣,所述衣体正表面两侧的底部均缝纫连接有下口袋,所述衣体内腔的前侧且位于下口袋的正后方缝纫连接有隐藏折叠袋,所述隐藏折叠袋的下方设置有第一拉链,所述衣体的正表面且位于下口袋的上方缝纫连接有口袋扣。本实用新型通过衣体、第二拉链、第一魔术贴、第二魔术贴、隐藏折叠袋、衣袖、透气布和充气囊的配合使用,具备方便悬挂引流袋的优点,解决了现有的病号服不方便在穿着的过程中悬挂引流袋,而患者在外出检查或散步时引流袋裸露在外部会使患者的隐私部位显露,从而会影响患者的自尊心,无法满足患者需求的问题。 | ||||
| 补充信息 | |||||
| 转让方式: | 成熟度: | 预估价值: | |||
| 市场前景: | |||||