样品
成果详情
| 项目简介 | |||||
|---|---|---|---|---|---|
| 技术简介: | |||||
| 专利类型: | 实用新型 | 专利申请号: | CN202220999300.5 | 公开号: | CN219048583U | 
| 专利权人: | 南方医科大学南方医院 | 发明设计人: | 覃辉;马焕容;颜丽华 | ||
| 所属领域: | |||||
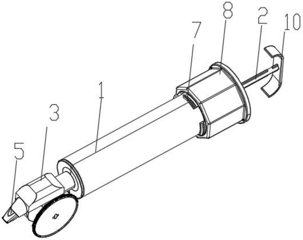
| 摘要: | 本实用新型公开了一种用于超声临床的耦合剂涂抹装置,包括剂筒、推杆和出料头,剂筒为中通结构,且一端为出料嘴,出料头螺纹连接出料嘴并和剂筒内部连通,出料头前端安装有供耦合剂流出的涂抹头,推杆从远离出料嘴的一端伸入剂筒内,且推杆前端安装有与剂筒内壁相匹配的推块。本涂抹装置用于医用耦合剂的涂抹使用,耦合剂装在剂筒内,转块可以控制耦合剂的通过料管的通断,转动转块带动调节块逐渐放松对料管的压制,向里推动推杆慢慢将耦合剂从涂抹头压出,方便涂抹到患者皮肤上,由推块和剂筒的配合使耦合剂的输出量较好把控,使用方便,转动转块使调节块完全压住料管,则耦合剂受阻,阻止耦合剂流出。 | ||||
| 补充信息 | |||||
| 转让方式: | 成熟度: | 预估价值: | |||
| 市场前景: | |||||