样品
成果详情
| 项目简介 | |||||
|---|---|---|---|---|---|
| 技术简介: | |||||
| 专利类型: | 实用新型 | 专利申请号: | CN202323149065.6 | 公开号: | CN221905314U |
| 专利权人: | 南方医科大学南方医院 | 发明设计人: | 柯晓冰;陈佩娟;何玉 | ||
| 所属领域: | |||||
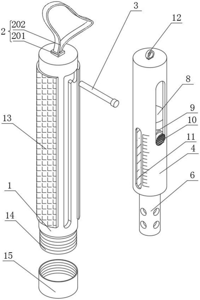
| 摘要: | 本实用新型公开了一种肛门推药器,涉及推药装置技术领域,包括保护筒,所述保护筒的顶部固定连接有便携组件,所述保护筒表面的一侧开设有滑动卡接槽,所述滑动卡接槽的中部滑动连接有连接杆,所述连接杆的一端卡接有固定圆环,所述固定圆环的底部固定连接有储药筒,所述储药筒的底部贯通连接有A螺纹管;本实用新型过便携组件的设置,在人员操作装置使用时,方便对肛门推药器进行携带使用,使该装置使用起来更加便利,也增加了其便携性,提高了该取样器的使用效果;通过A螺纹管和注射管的设置,在人员操作装置使用时,由于注射管需要插入患者的肛门处,使用后进行更换能保证卫生情况,也能降低病原体的感染,增加了使用效果。 | ||||
| 补充信息 | |||||
| 转让方式: | 成熟度: | 预估价值: | |||
| 市场前景: | |||||