样品
成果详情
| 项目简介 | |||||
|---|---|---|---|---|---|
| 技术简介: | |||||
| 专利类型: | 实用新型 | 专利申请号: | CN201920177776.9 | 公开号: | CN209630338U |
| 专利权人: | 南方医科大学南方医院 | 发明设计人: | 刘先平;王莉慧 | ||
| 所属领域: | |||||
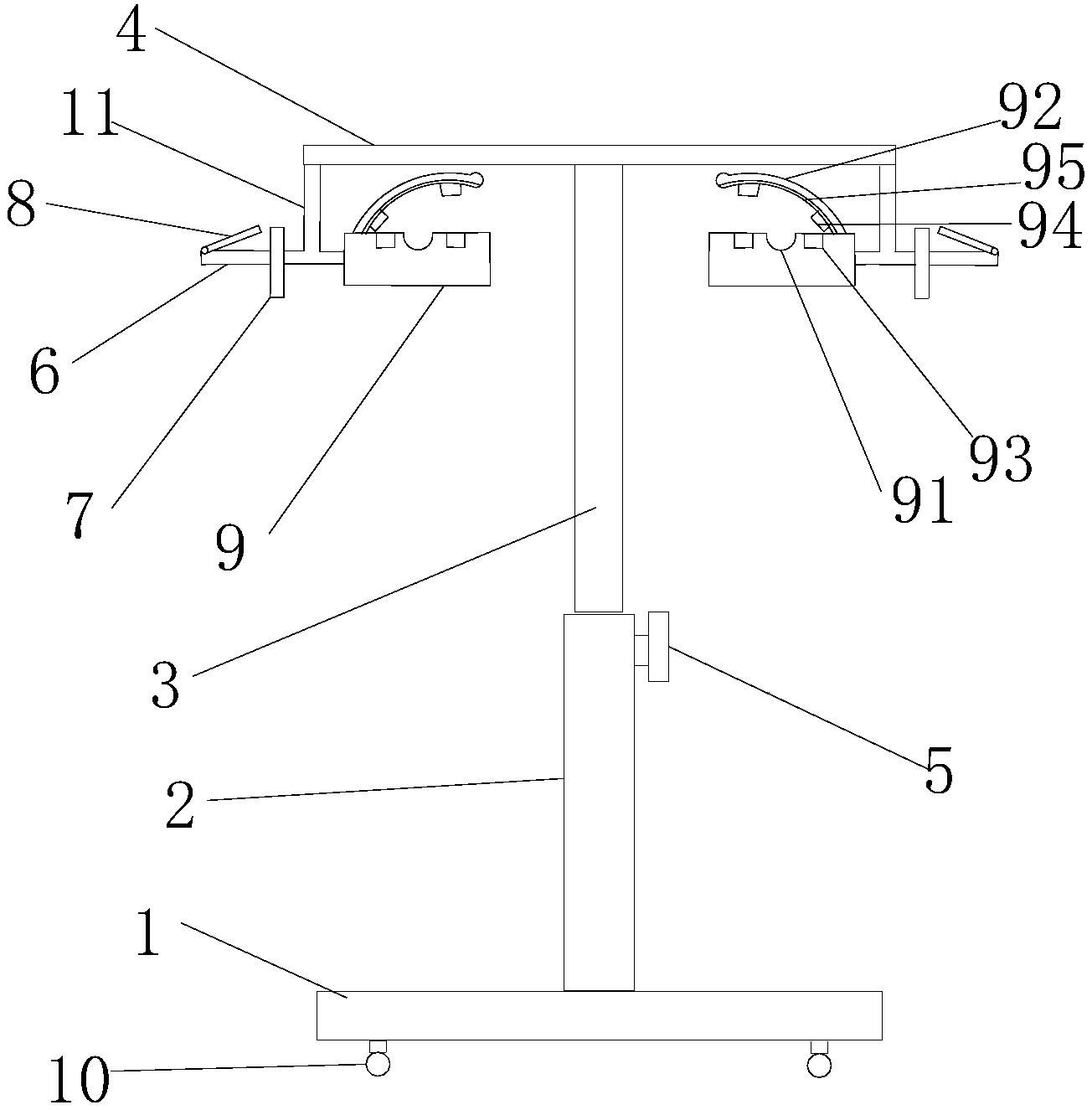
| 摘要: | 本实用新型公开了一种输液固定架,包括底座、设置于所述底座上的支撑杆以及设置于所述支撑杆顶端的横梁,所述横梁两侧对称设有两条横向延伸的输液挂轴,所述输液挂轴通过摆动杆与横梁连接,所述输液挂轴上设有与其相垂直的挡板,且输液挂轴上在远离所述横梁的一端设有可穿过输液袋上通孔并与所述挡板共同夹紧输液袋的弹性片,所述弹性片与所述横梁铰接,所述弹性片的自由端为横向延伸并朝远离铰接点的方向弯曲;所述输液挂轴在弹性片的反方向一端设有输液管放置架。本实用新型使用时将输液袋穿过弹性片到挡板位置后,转动弹性片使输液袋置于挡板与弹性片之间,输液袋在使用过程中不会晃动,并设置有输液管放置架,可将输液管收纳放置,防止脱落。 | ||||
| 补充信息 | |||||
| 转让方式: | 成熟度: | 预估价值: | |||
| 市场前景: | |||||