样品
成果详情
| 项目简介 | |||||
|---|---|---|---|---|---|
| 技术简介: | |||||
| 专利类型: | 实用新型 | 专利申请号: | CN202122035996.8 | 公开号: | CN216103350U | 
| 专利权人: | 南方医科大学南方医院 | 发明设计人: | 李涛;李格格;梁洁;王玉享;苏清霞;刘红英 | ||
| 所属领域: | |||||
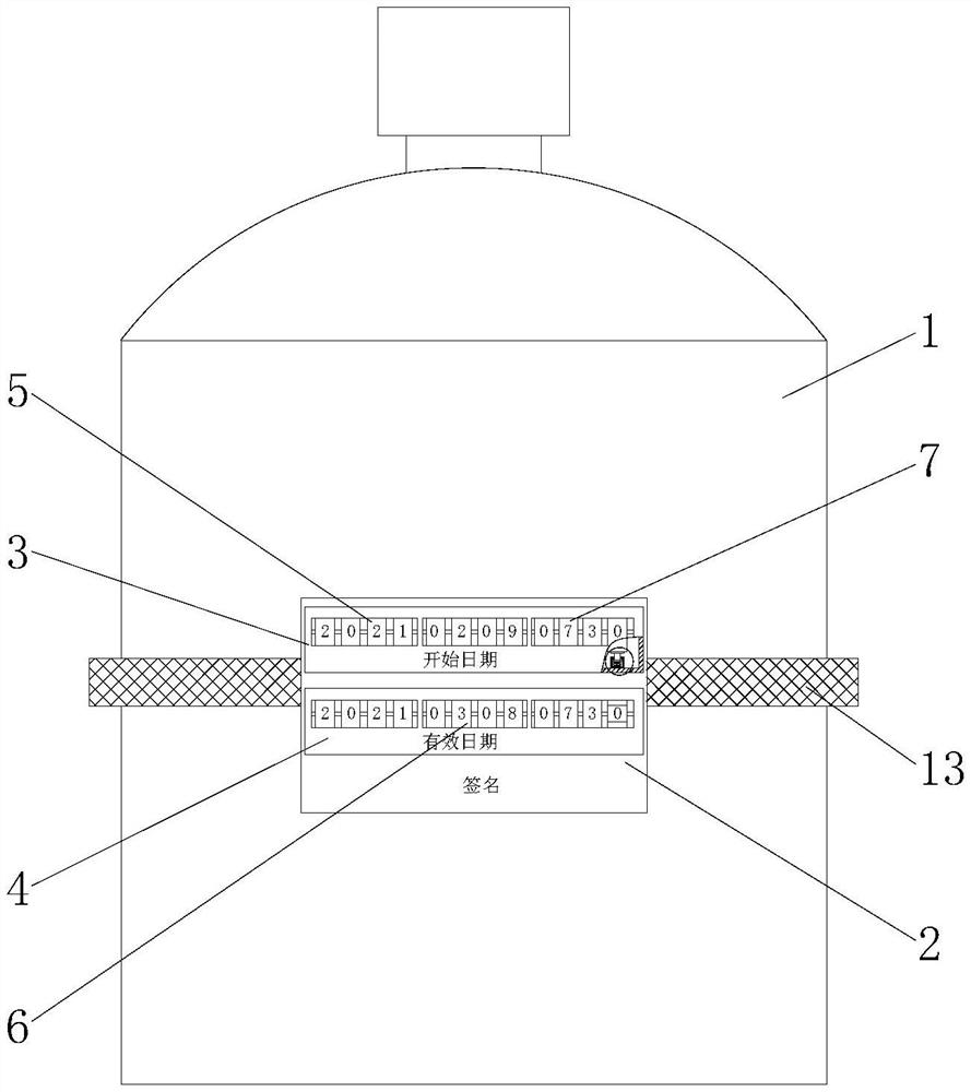
| 摘要: | 本实用新型公开了一种可调节日期的装置,包括瓶体,所述瓶体的正面粘接有连接板,所述连接板正面的顶部固定连接有开始日期壳体,所述连接板正面的底部固定连接有有效日期壳体,所述开始日期壳体和有效日期壳体的内腔均通过转轴分别由左至右分别安装有年调节转盘、月日调节转盘和时分调节转盘,所述开始日期壳体和有效日期壳体内腔的底部均固定连接有方管,所述方管内腔的底部固定连接有弹簧。本实用新型具备可调节日期的优点,解决了现有的消毒液开瓶都要手写开始日期和有效期,尤其是瓶子可以重复用的,瓶子消毒后装入更换的消毒液,消毒液当天用完之后瓶子当天消毒,也是需要手写开始日期和有效期,比较麻烦的问题。 | ||||
| 补充信息 | |||||
| 转让方式: | 成熟度: | 预估价值: | |||
| 市场前景: | |||||