样品
成果详情
| 项目简介 | |||||
|---|---|---|---|---|---|
| 技术简介: | |||||
| 专利类型: | 实用新型 | 专利申请号: | CN201921368994.7 | 公开号: | CN210812117U |
| 专利权人: | 南方医科大学南方医院 | 发明设计人: | 袁志云;黄平 | ||
| 所属领域: | |||||
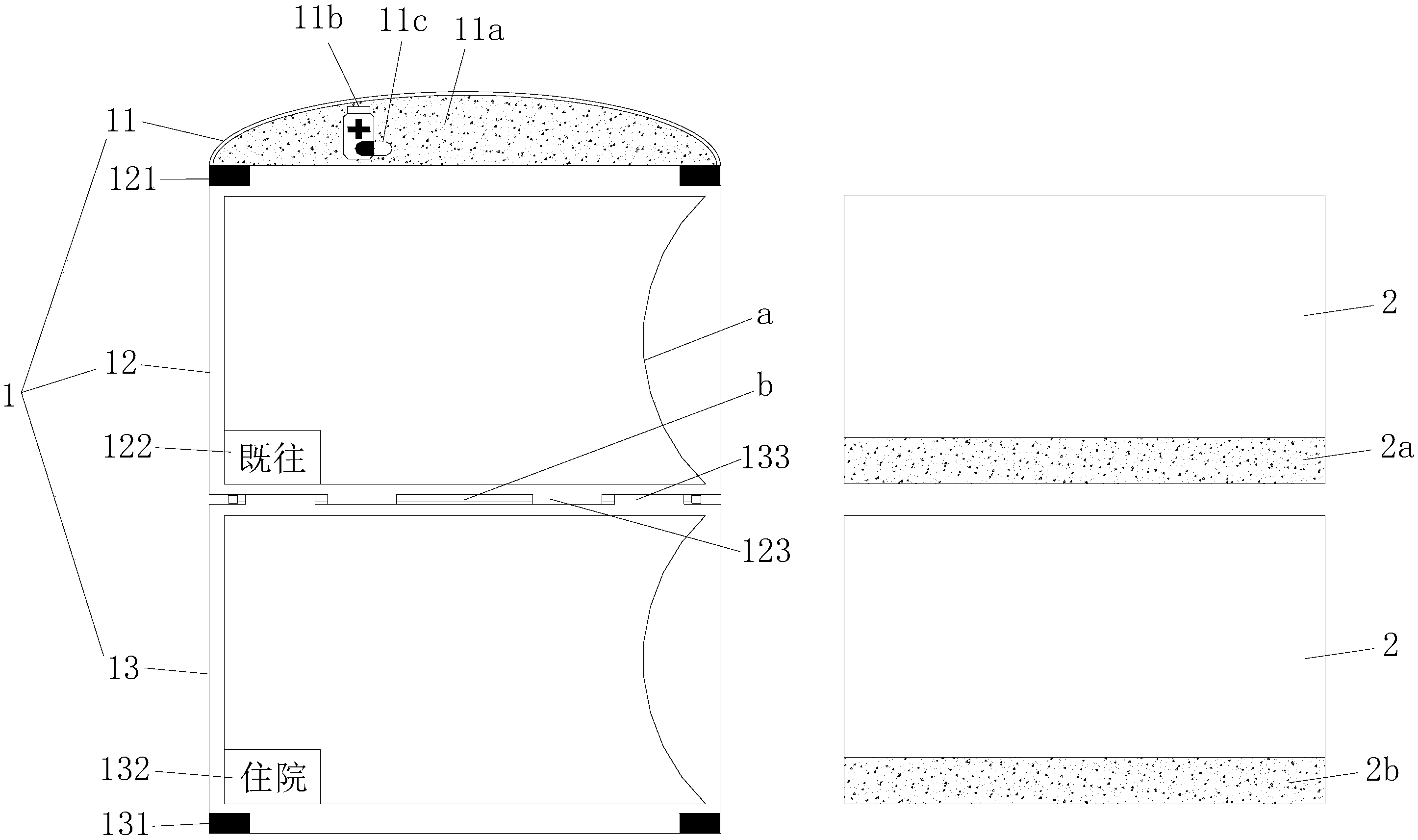
| 摘要: | 本实用新型公开了一种药物过敏提示牌,包括插槽盒和卡片,所述插槽盒包括从上至下依次分布的正面印有药物过敏字样的红色警示区、正面印有既往字样的透明插槽区一和正反面均印有住院字样的透明插槽区二,透明插槽区二是与透明插槽区一铰接连接的且能朝上翻折与透明插槽区一叠合固定的可折叠区,透明插槽区一的正面和透明插槽区二的正反面均分别有插槽,透明插槽区一的正面和透明插槽区二的正面或反面的插槽内均插有卡片,插在透明插槽区二正面或反面的插槽内的卡片与插在透明插槽区一正面的插槽内的卡片颜色不同。本实用新型的药物过敏提示牌可避免护士漏放提示牌,观察醒目,方便护士床边查对,阻断用药差错的源头。 | ||||
| 补充信息 | |||||
| 转让方式: | 成熟度: | 预估价值: | |||
| 市场前景: | |||||