样品
成果详情
| 项目简介 | |||||
|---|---|---|---|---|---|
| 技术简介: | |||||
| 专利类型: | 发明 | 专利申请号: | CN202011040492.9 | 公开号: | CN112156497A |
| 专利权人: | 南方医科大学 | 发明设计人: | 潘加亮;袁嘉豪;马安德 | ||
| 所属领域: | |||||
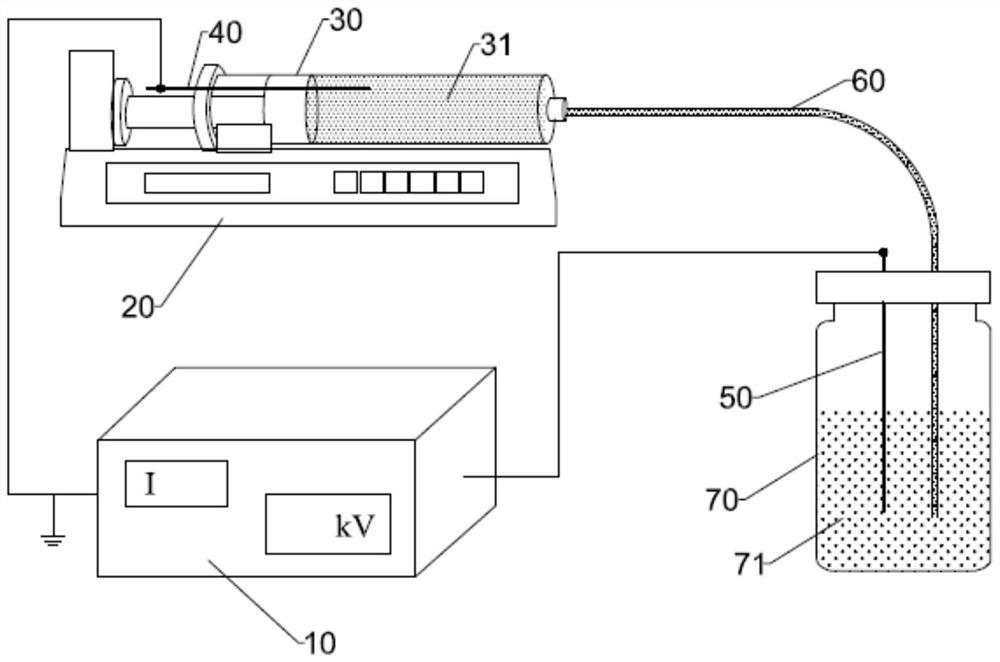
| 摘要: | 本发明提供了一种用于富集痕量分析物的非水互溶两相的液‑液电萃取装置及其应用,该电萃取装置包括高压电源、精密注射泵、注射器、不锈钢电极丝、铂金电极丝、接收管和样品瓶;所述注射器中注入有含有机电解质的电导液,并固定在精密注射泵上;所述不锈钢电极丝一端插入注射器的活塞杆并穿过活塞杆上的橡胶头,另一端接地;所述注射器注射口与所述接收管一端连接;所述铂金电极丝一端与高压电源连接,另一端与所述接收管另一端均伸入装有样品溶液的样品瓶中,并浸入样品溶液中。采用该电萃取装置可以将痕量目标物从毫升级别的非极性溶液中完全耗尽式地电萃取至微升级的含电导液成分的非极性溶液中,以此实现溶剂转换和高效浓缩富集。 | ||||
| 补充信息 | |||||
| 转让方式: | 成熟度: | 预估价值: | |||
| 市场前景: | |||||