样品
成果详情
| 项目简介 | |||||
|---|---|---|---|---|---|
| 技术简介: | |||||
| 专利类型: | 实用新型 | 专利申请号: | CN201921019630.8 | 公开号: | CN210992589U |
| 专利权人: | 南方医科大学南方医院 | 发明设计人: | 陈宝梅;黄榕;郭萍;郭亚云;陈泽纯;黄少慧 | ||
| 所属领域: | |||||
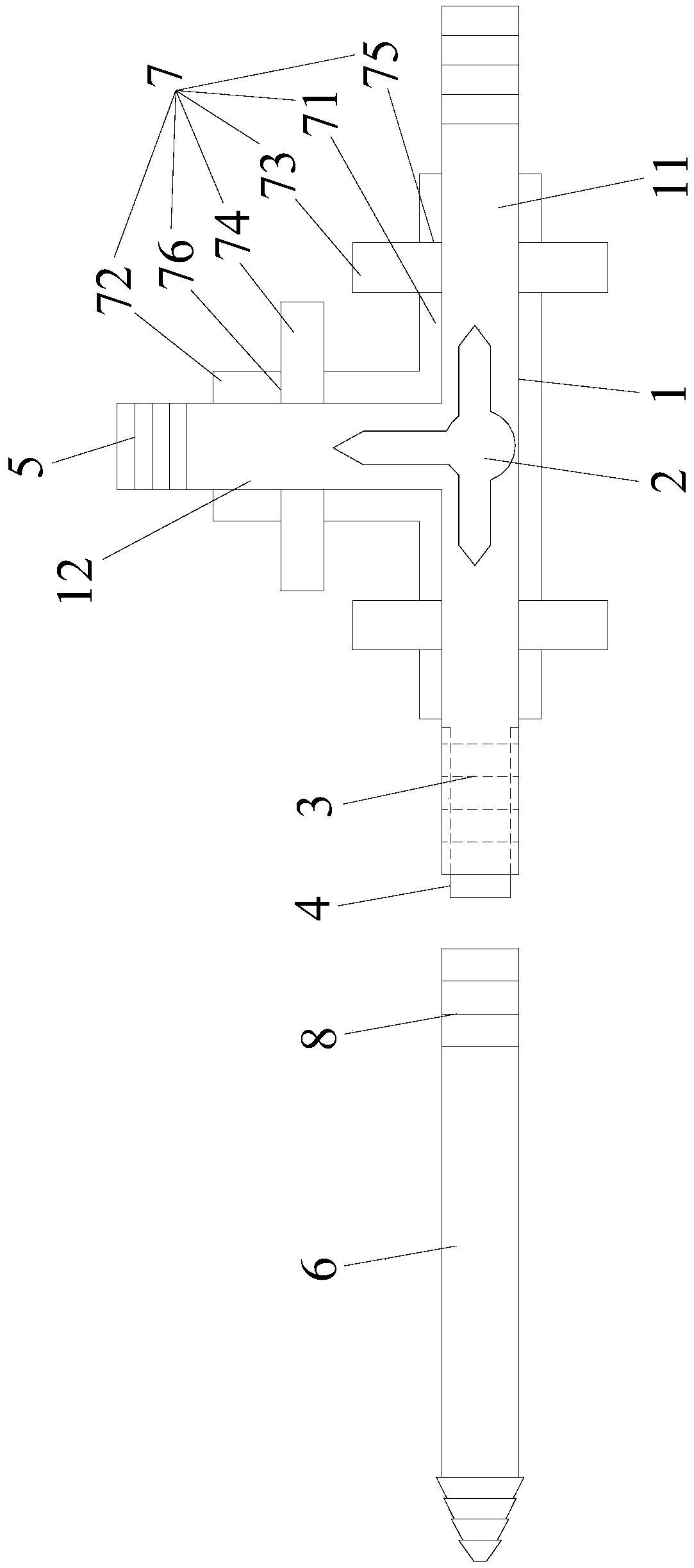
| 摘要: | 本实用新型公开了一种多功能医用三通接头,包括三通主体,三通主体的正面中间部位装有三通阀门,三通主体的其中一个接口外壁面光滑、内壁面有圆柱螺纹一、端部凸出有外径小于接口外径的套接部,另两个接口内壁面光滑、外壁面有圆柱螺纹二,三通主体的背面可拆卸固定有防器械性压疮的医用棉垫,还包括延长管,延长管的一接口内壁面光滑并套接部外壁面贴合、外壁面有与圆柱螺纹一吻合的圆柱螺纹三,圆柱螺纹三的长度小于圆柱螺纹一的长度,延长管的另一接口内壁面光滑、外壁面呈宝塔形。本实用新型的多功能医用三通接头既能满足与临床各种型号的引流管连接,又能减少临床上器械性压疮的发生。 | ||||
| 补充信息 | |||||
| 转让方式: | 成熟度: | 预估价值: | |||
| 市场前景: | |||||