样品
成果详情
| 项目简介 | |||||
|---|---|---|---|---|---|
| 技术简介: | |||||
| 专利类型: | 实用新型 | 专利申请号: | CN202420024569.0 | 公开号: | CN221787843U |
| 专利权人: | 南方医科大学珠江医院 | 发明设计人: | 黄玲 | ||
| 所属领域: | |||||
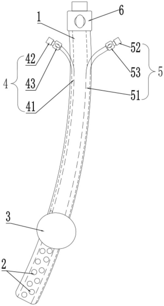
| 摘要: | 本实用新型涉及医疗技术领域,本实用新型提供了一种可调式三腔导尿管,包括管体,在所述管体的一端开设有若干个在工作时位于病人膀胱内的导尿孔,在所述管体的外壁上套设有一用于将该管体限定在病人的尿道上的气囊;在所述管体上远离所述导尿孔的一端外侧壁上设有一与所述气囊连通的充气管道,还在所述管体上靠近所述充气管道一端的另一侧壁上设有一用于对病人膀胱进行清洗护理操作的注水管道。本实用新型具有能够对病人膀胱进行导尿且在导尿的过程中能够封闭尿道不易出现漏尿现象、能够对病人膀胱进行清洗护理以防止膀胱粘膜堵塞造成引流不畅的优点。 | ||||
| 补充信息 | |||||
| 转让方式: | 成熟度: | 预估价值: | |||
| 市场前景: | |||||