样品
成果详情
| 项目简介 | |||||
|---|---|---|---|---|---|
| 技术简介: | |||||
| 专利类型: | 实用新型 | 专利申请号: | CN202120398225.2 | 公开号: | CN215129526U |
| 专利权人: | 南方医科大学深圳医院 | 发明设计人: | 李亮;桑宏勋;李敏;吴铭杰;李盛 | ||
| 所属领域: | |||||
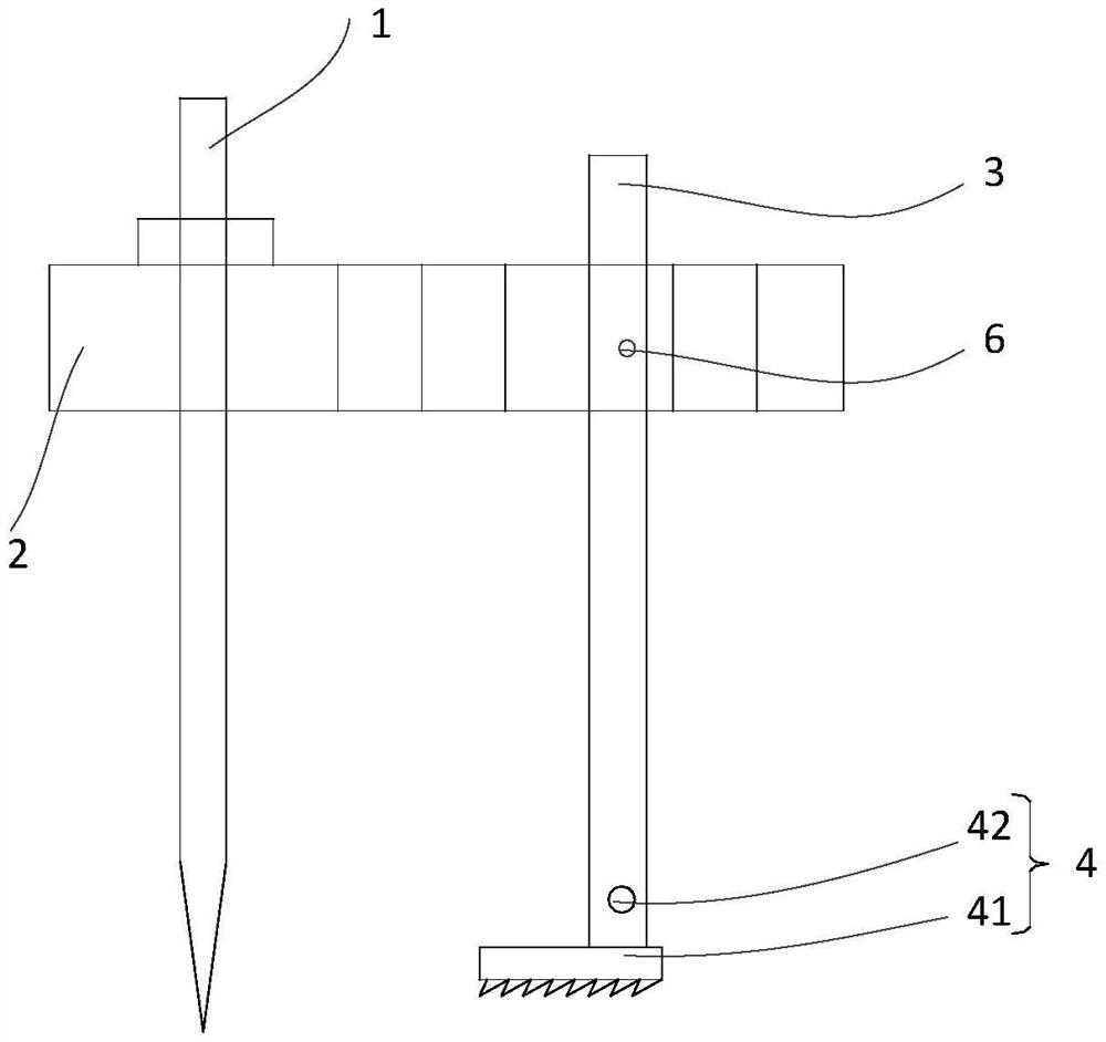
| 摘要: | 本实用新型公开了一种骨科手术切割锯结构,包括:固定脚、连接杆、切割轴和切割组件;所述固定脚和所述连接杆相互垂直设置,所述切割轴与所述连接杆相互垂直设置,所述切割轴与所述固定脚并列设置在所述连接杆的同一侧;所述切割组件包括切割锯,所述切割锯设置在所述切割轴的末端,所述切割锯为圆弧形,所述圆弧形的圆心为所述固定脚圆心,所述圆弧形的半径等于所述固定脚的圆心到所述切割轴的圆心所形成的半径。该骨科手术切割锯结构可以很方便地切割出圆弧形的骨头出来。 | ||||
| 补充信息 | |||||
| 转让方式: | 成熟度: | 预估价值: | |||
| 市场前景: | |||||