样品
成果详情
| 项目简介 | |||||
|---|---|---|---|---|---|
| 技术简介: | |||||
| 专利类型: | 实用新型 | 专利申请号: | CN202121371219.4 | 公开号: | CN215689620U |
| 专利权人: | 南方医科大学珠江医院 | 发明设计人: | 许丽玲;蔡少如 | ||
| 所属领域: | |||||
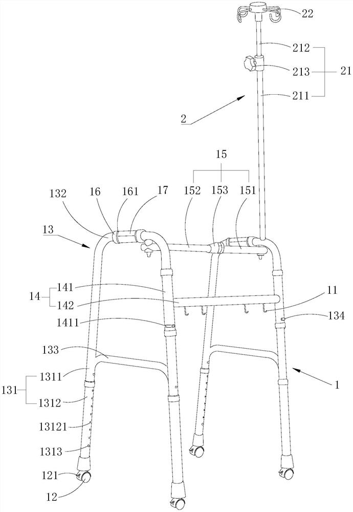
| 摘要: | 本实用新型提供一种输液助行器,其技术方案要点是输液助行器包括助行架和输液架,所述输液架位于所述助行架的上方并与所述助行架的顶部连接,所述助行架上设有至少一个用于悬挂引流袋的挂钩,所述助行架的底部设有滑轮。通过在助行架上设置输液架和挂钩,同时助行架底部设置滑轮,输液架上可悬挂吊瓶,挂钩上可悬挂引流袋,患者可借助输液助行架下床活动,滑轮为患者推动助行架带来便利,也使输液架上的吊瓶和挂钩上的引流袋在移动过程中保持平稳,避免发生剧烈晃动甚至摔落而对患者造成伤害。 | ||||
| 补充信息 | |||||
| 转让方式: | 成熟度: | 预估价值: | |||
| 市场前景: | |||||