样品
成果详情
| 项目简介 | |||||
|---|---|---|---|---|---|
| 技术简介: | |||||
| 专利类型: | 实用新型 | 专利申请号: | CN202323104566.2 | 公开号: | CN221711958U |
| 专利权人: | 南方医科大学珠江医院 | 发明设计人: | 张嘉香 | ||
| 所属领域: | |||||
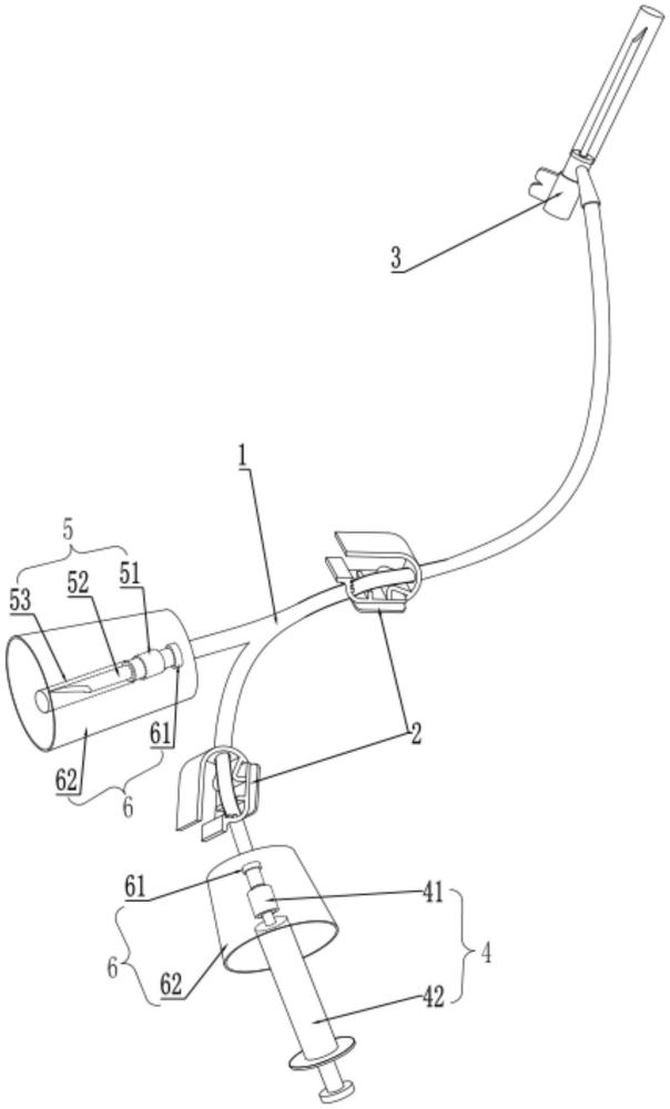
| 摘要: | 本实用新型公开了一种动静脉两用采血针,包括Y形管,在所述Y形管的入口端以及其中一个出口端上均设有止流夹,还在所述Y形管的入口端设有一与患者的股动脉连接用于进行血液和动脉血气采集的穿刺针;在所述Y形管上位于带有所述止流夹的其中一个出口端设有动脉血气采集结构,在所述Y形管的另一个出口端设有血液采集结构;还在所述Y形管的两个出口端上均设有一能够笼罩住相应的所述动脉血气采集结构或者血液采集结构用于在拨针时防止血液喷射造成医护人员被污染的套管结构。本实用新型具有能够实现血液以及动脉血气的同步采集以减少患者穿刺次数以及疼痛和心理恐惧、有效减少医护人员工作量、不易造成医护人员被采集血液污染的优点。 | ||||
| 补充信息 | |||||
| 转让方式: | 成熟度: | 预估价值: | |||
| 市场前景: | |||||