样品
成果详情
| 项目简介 | |||||
|---|---|---|---|---|---|
| 技术简介: | |||||
| 专利类型: | 实用新型 | 专利申请号: | CN202420533528.4 | 公开号: | CN222021660U |
| 专利权人: | 南方医科大学南方医院 | 发明设计人: | 谭雅方;杨华;李琦 | ||
| 所属领域: | |||||
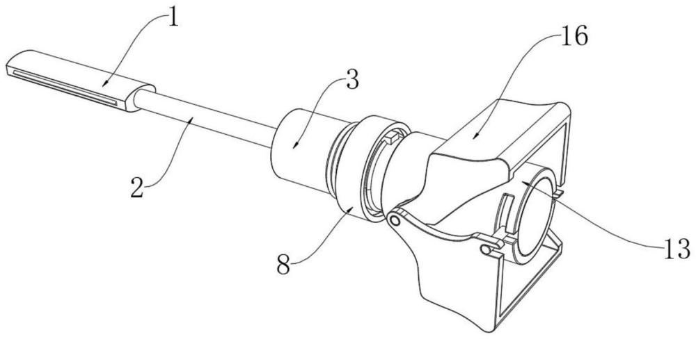
| 摘要: | 本实用新型涉及五官科设备技术领域,尤其涉及一种修刮设备。包括修刮件,修刮件的一端安装有驱动件,修刮件包括修剪刀和连接柱,修剪刀的一端固定有连接柱;驱动件包括旋转柱和固定套,连接柱的一端螺纹连接有旋转柱,旋转柱远离修剪刀一端的外侧滑动连接固定套;旋转柱内部靠近修剪刀的一端滑动连接有照明灯,照明灯远离修剪刀一端的顶部和底部均固定有定位板,定位板与旋转柱滑动连接。本实用新型提供的一种修刮设备,通过驱动件和修刮件的配合,能够对耳毛进行修剪,同时能够将修刮件当做一次性物品进行使用,进而能够提高卫生以及防止交叉感染,同时通过手动操作驱动件对耳毛修剪更加干净,并通过照明灯的照明能够让使用者看的更加清楚。 | ||||
| 补充信息 | |||||
| 转让方式: | 成熟度: | 预估价值: | |||
| 市场前景: | |||||