样品
成果详情
| 项目简介 | |||||
|---|---|---|---|---|---|
| 技术简介: | |||||
| 专利类型: | 发明 | 专利申请号: | CN201810693548.7 | 公开号: | CN108837191B |
| 专利权人: | 南方医科大学 | 发明设计人: | 林周盛;陈新华;余江 | ||
| 所属领域: | |||||
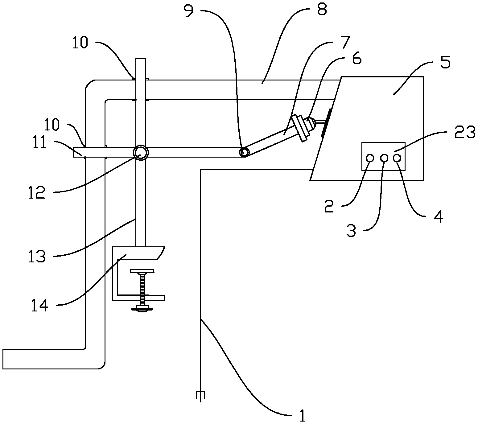
| 摘要: | 本发明公开了膝关节截骨骨渣防溅装置,包括抽吸装置和用于支撑抽吸装置的支撑单元,所述抽吸装置包括下端敞口的方形挡板、发动机和安装在发动机动作端上的涡轮,所述方形挡板的前侧板设置有一个开口,方形挡板的后侧板设置有一个排风口,排风口前侧布置有过滤纱网。本发明通过发动机带动涡轮切割空气,可产生较大抽吸力,实现对于截骨过程中骨渣与血液的抽吸。方形挡板与过滤纱网的结合使用可有效阻挡骨渣与血液向四周飞溅与吸入后的再溅出,方便术后的清理。在方形挡板与过滤纱网的基础上,再配置内挡板和骨渣收集盒,可以集中收集骨渣和血液,内挡板和过滤纱网可拆卸,便于清理。 | ||||
| 补充信息 | |||||
| 转让方式: | 成熟度: | 预估价值: | |||
| 市场前景: | |||||